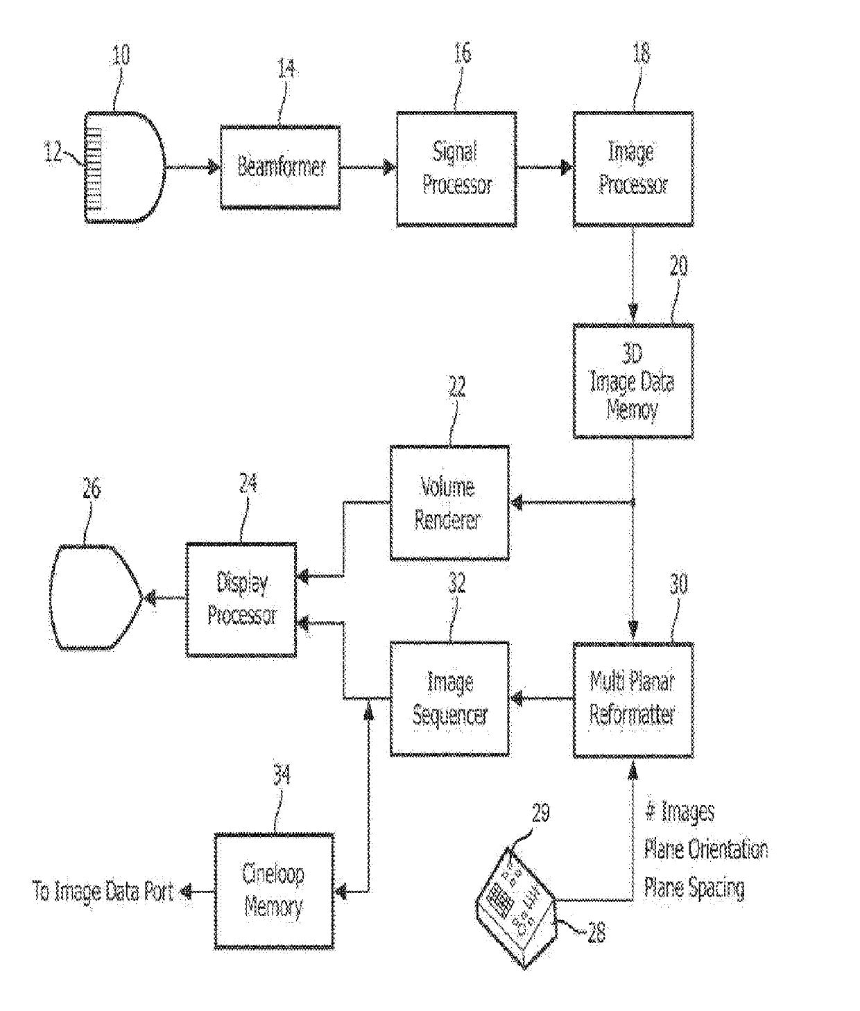
标题:
Volumetric ultrasound image data reformatted as an image plane sequence
授权日:
1900-01-01
公开(公告)号:
US20190156936A1
申请日:
2019-01-30
公开(公告)日:
2019-05-23
当前申请(专利权)人:
KONINKLIJKE PHILIPS N.V.
发明人:
BROWN, JIMMY RAY | BRADLEY, KEVIN
简单同族:
CN102802537A | CN102802537B | EP2549930A1 | EP2549930B1 | JP2013521968A | JP5965894B2 | RU2012144804A | RU2584127C2 | US10235497 | US20130012820A1 | US20190156936A1 | WO2011117788A1
简单同族成员数量:
12
简单同族被引用专利总数:
25
诉讼案件数:
0
法律状态/事件:
实质审查 | 权利转移