首页
专利数据库
产业人才
行业动态
产业政策法规
维权援助
个人中心
登录/注册
详情
文本
图像
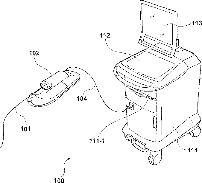
标题:
Imaging apparatus for diagnosis and image processing method
授权日:
1900-01-01
公开(公告)号:
US20150190054A1
申请日:
2015-03-23
公开(公告)日:
2015-07-09
当前申请(专利权)人:
TERUMO KABUSHIKI KAISHA
发明人:
KANEKO, KENJI
简单同族:
JP5956589B2 | JPWO2014045327A1 | US20150190054A1 | WO2014045327A1
简单同族成员数量:
4
简单同族被引用专利总数:
8
诉讼案件数:
0
法律状态/事件:
撤回 | 权利转移