首页
专利数据库
产业人才
行业动态
产业政策法规
维权援助
个人中心
登录/注册
详情
文本
图像
标题:
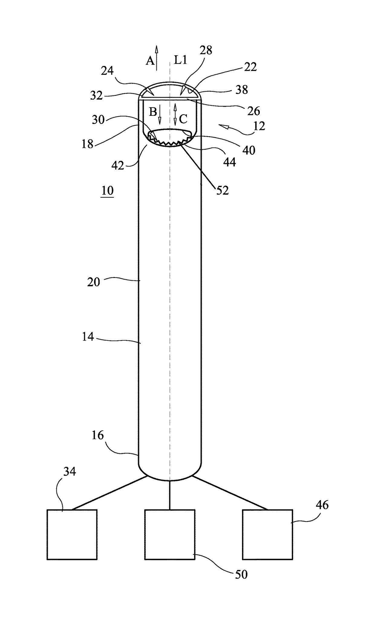
Ultrasonic cutting device
授权日:
2018-12-04
公开(公告)号:
US10143486
申请日:
2016-02-15
公开(公告)日:
2018-12-04
当前申请(专利权)人:
MEDTRONIC HOLDING COMPANY SÀRL
发明人:
LAUCHNER, CRAIG E.
简单同族:
US10143486 | US20140277030A1 | US20160157885A1 | US9289227
简单同族成员数量:
4
简单同族被引用专利总数:
2
诉讼案件数:
0
法律状态/事件:
授权 | 权利转移