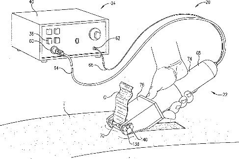
标题:
Dermatome with ultrasonic cutting blade
授权日:
1900-01-01
公开(公告)号:
US20090138027A1
申请日:
2008-11-25
公开(公告)日:
2009-05-28
当前申请(专利权)人:
DADSON MANUFACTURING CORP.
发明人:
LUCAS, JAMES RAYMOND | JONES, MARK LOYD | ALDRICH, JAMES EARL | LUCAS, PETER BARRETT | RUSS, NORBERT | COWDEN, SHANE E.
简单同族:
AU2008329721A1 | BRPI0819778A2 | CA2706334A1 | EP2214576A1 | EP2214576A4 | EP2604201A1 | JP2011504792A | JP2011504792A5 | US20090138027A1 | US20120123443A1 | US20130304088A1 | US8100927 | US8491605 | US9173675 | WO2009070702A1
简单同族成员数量:
15
简单同族被引用专利总数:
31
诉讼案件数:
0
法律状态/事件:
未缴年费 | 权利转移