标题:
Surgical saw with sensing technology for determining cut through of bone and depth of the saw blade during surgery
授权日:
1900-01-01
公开(公告)号:
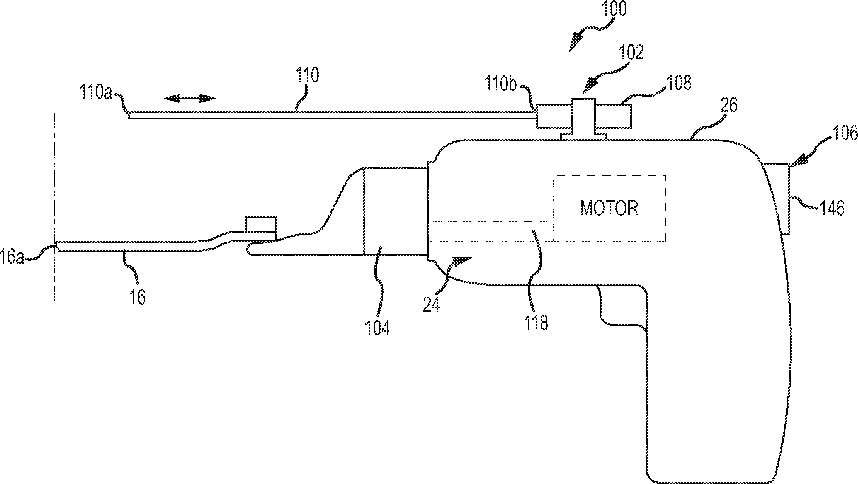
US20150148806A1
申请日:
2015-02-04
公开(公告)日:
2015-05-28
当前申请(专利权)人:
MCGINLEY ENGINEERED SOLUTIONS, LLC
发明人:
MCGINLEY, JOSEPH C. | FISHER, LAWSON | MISHRA, DEVJEET | MCCREA, JIM | BLIVEN, BRIAN | LEUGERS, MARTIN
简单同族:
AU2014346458A1 | AU2014346458B2 | AU2019201451A1 | AU2019201451B2 | EP3065650A1 | EP3065650A4 | EP3065650B1 | HK1228714A | HK1228714A1 | US10349952 | US20150141999A1 | US20150148805A1 | US20150148806A1 | US20170007289A1 | US20190350594A1 | US9468445 | US9554807 | US9833244 | WO2015070159A1
简单同族成员数量:
19
简单同族被引用专利总数:
12
诉讼案件数:
0
法律状态/事件:
授权 | 权利转移