首页
专利数据库
产业人才
行业动态
产业政策法规
维权援助
个人中心
登录/注册
详情
文本
图像
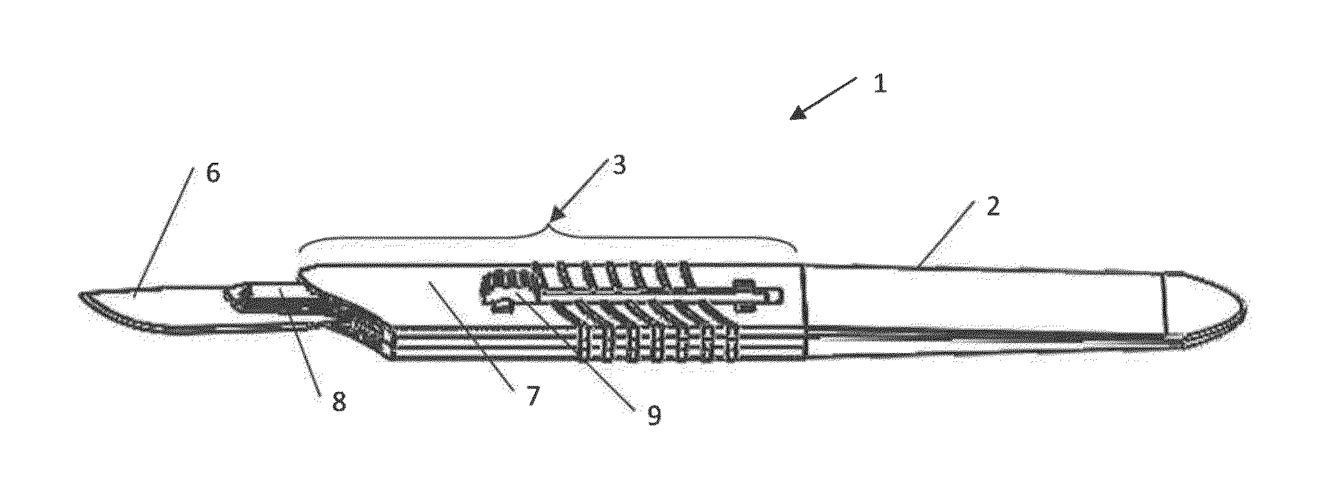
标题:
Safety Scalpel with Replaceable Blade Cartridge
授权日:
1900-01-01
公开(公告)号:
US20160249947A1
申请日:
2015-02-27
公开(公告)日:
2016-09-01
当前申请(专利权)人:
MEDIPURPOSE PTE LTD
发明人:
CASTANON, SCOTT | CERIANI, DYLANN
简单同族:
US10092314 | US20160249947A1
简单同族成员数量:
2
简单同族被引用专利总数:
5
诉讼案件数:
0
法律状态/事件:
授权 | 权利转移