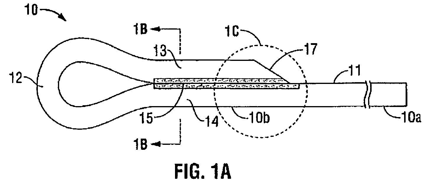
标题:
System and method for making tapered looped suture
授权日:
1900-01-01
公开(公告)号:
EP2245991A1
申请日:
2010-04-28
公开(公告)日:
2010-11-03
当前申请(专利权)人:
COVIDIEN LP
发明人:
MAIORINO, NICHOLAS | KOSA, TIMOTHY | BUCHTER, MARK | KROEBER, KEITH | HART, RICHARD CASEY
简单同族:
AU2010201486A1 | AU2010201486B2 | CA2699826A1 | CA2699826C | CN101874746A | CN101874746B | EP2245991A1 | EP2245991B1 | EP2564790A1 | JP2010259788A | JP5627918B2 | US20100276062A1 | US8590588
简单同族成员数量:
13
简单同族被引用专利总数:
10
诉讼案件数:
0
法律状态/事件:
授权 | 权利转移