标题:
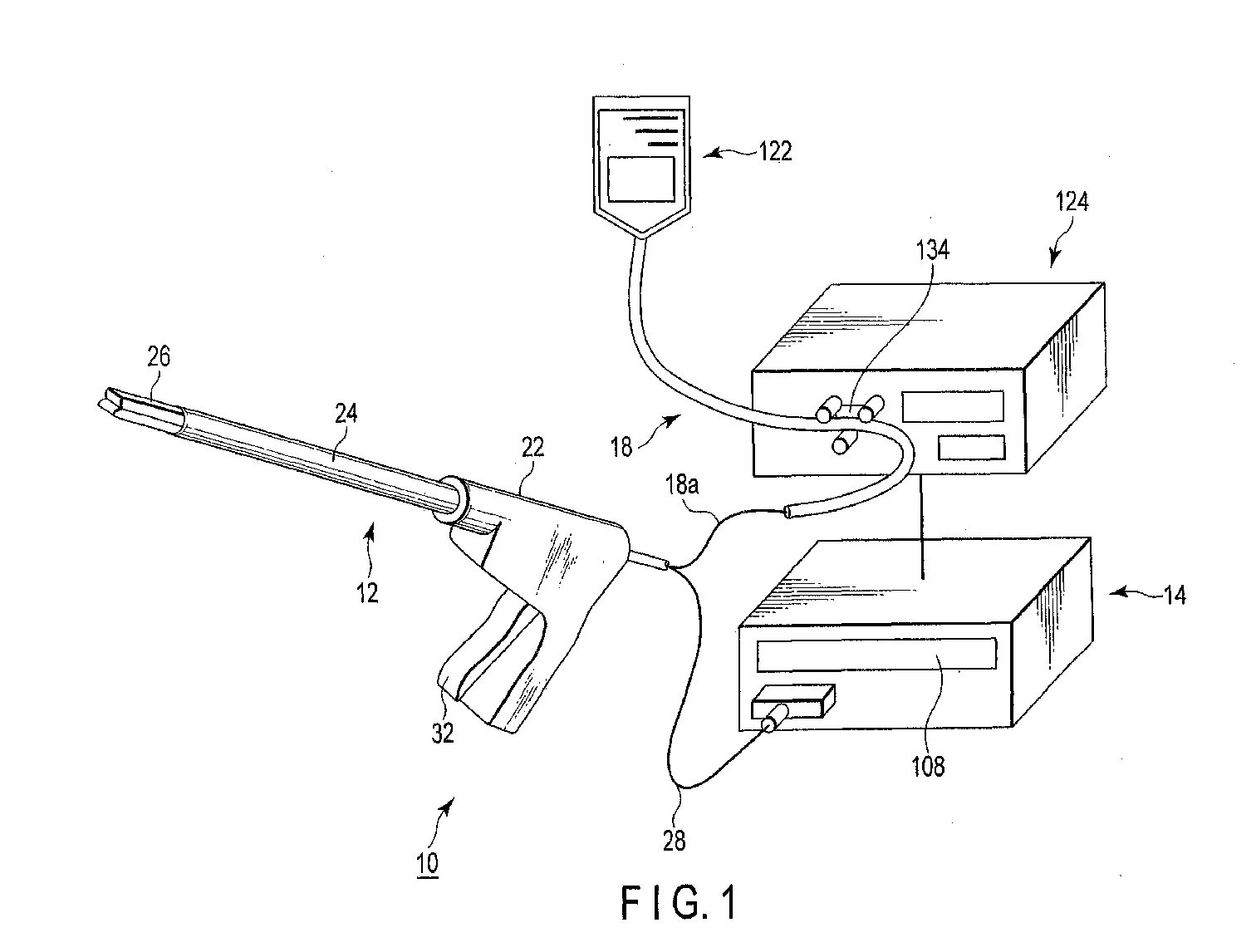
Medical treatment device and medical treatment system
授权日:
1900-01-01
公开(公告)号:
EP2856961A1
申请日:
2009-08-11
公开(公告)日:
2015-04-08
当前申请(专利权)人:
OLYMPUS CORPORATION
发明人:
TAKASHINO, TOMOYUKI
简单同族:
CN102596078A | CN102596078B | EP2465458A1 | EP2465458A4 | EP2465458B1 | EP2856961A1 | JP5123435B2 | JPWO2011018844A1 | US20120136345A1 | US9907605 | WO2011018844A1
简单同族成员数量:
11
简单同族被引用专利总数:
16
诉讼案件数:
0
法律状态/事件:
撤回 | 权利转移