标题:
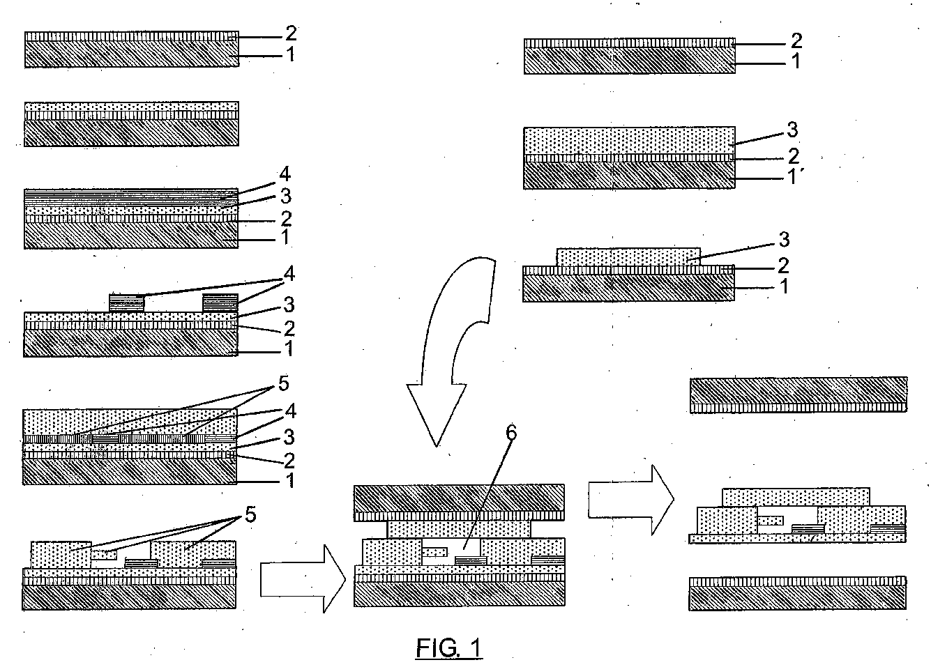
Flexible micro/nanofluidic devices
授权日:
1900-01-01
公开(公告)号:
EP2022753A1
申请日:
2007-05-22
公开(公告)日:
2009-02-11
当前申请(专利权)人:
IKERLAN, S. COOP | POC MICROSOLUTIONS, SL
发明人:
BLANCO BARRO, FCO. JAVIER | AGUIRREGABIRIA IZAGUIRRE, MARÍA | EZKERRA FERNÁNDEZ, AITOR | SCHULZE, JANETTE LILIAN MARÍA | RUANO LÓPEZ, JESÚS MIGUEL | MAYORA ORIA, KEPA
简单同族:
EP2022753A1 | EP2022753A4 | EP2022753B1 | ES2263400A1 | ES2263400B1 | US20100304306A1 | US8507188 | WO2007135214A1
简单同族成员数量:
8
简单同族被引用专利总数:
22
诉讼案件数:
0
法律状态/事件:
授权 | 权利转移