首页
专利数据库
产业人才
行业动态
产业政策法规
维权援助
个人中心
登录/注册
详情
文本
图像
标题:
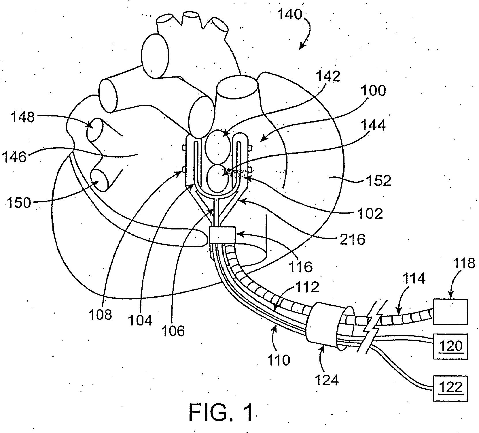
Cardiac ablation devices and methods
授权日:
1900-01-01
公开(公告)号:
EP1689285A4
申请日:
2004-11-12
公开(公告)日:
2008-01-02
当前申请(专利权)人:
ENDOSCOPIC TECHNOLOGIES, INC.
发明人:
BERTOLERO, ARTHUR A. | IBRAHIM, TAMER
简单同族:
EP1689285A2 | EP1689285A4 | WO2005046456A2 | WO2005046456A3
简单同族成员数量:
4
简单同族被引用专利总数:
12
诉讼案件数:
0
法律状态/事件:
撤回