首页
专利数据库
产业人才
行业动态
产业政策法规
维权援助
个人中心
登录/注册
详情
文本
图像
标题:
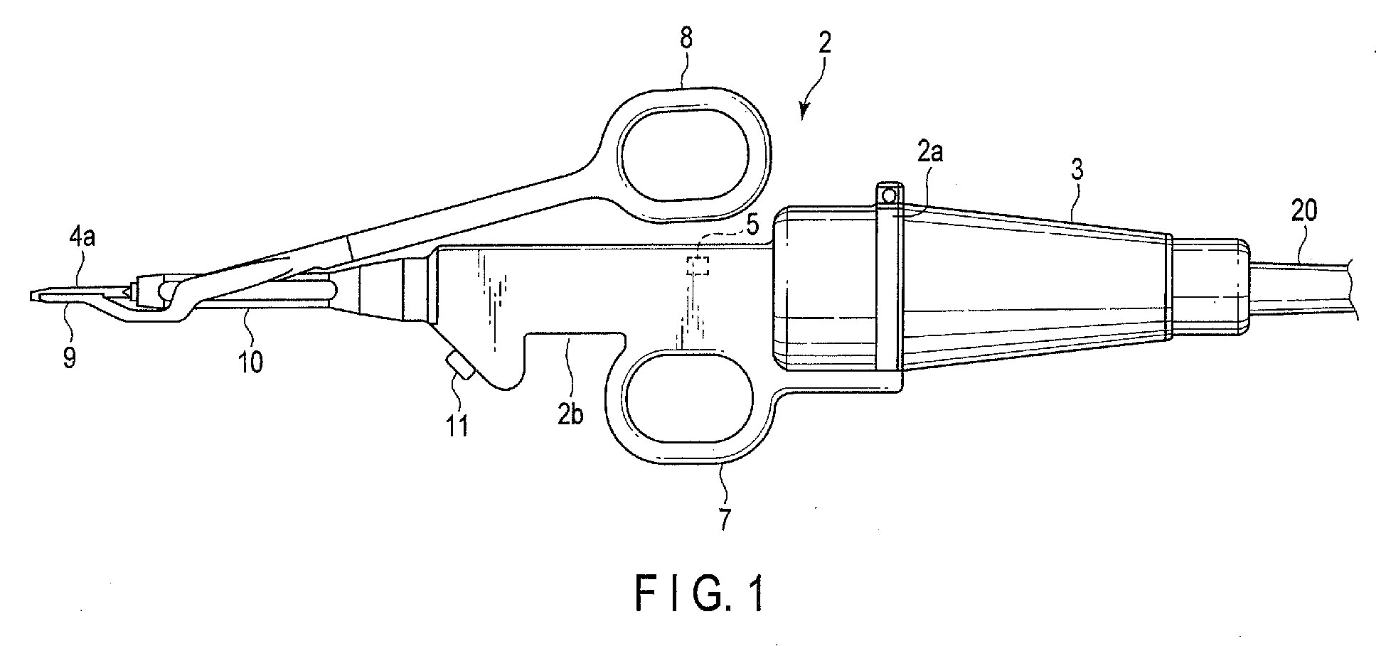
Treatment tool
授权日:
1900-01-01
公开(公告)号:
EP2904981A1
申请日:
2013-10-03
公开(公告)日:
2015-08-12
当前申请(专利权)人:
OLYMPUS CORPORATION
发明人:
SANAI, HIDEO | KAWAGUCHI, YUKI
简单同族:
CN104684498A | CN104684498B | EP2904981A1 | EP2904981A4 | EP2904981B1 | JP5802843B2 | JPWO2014054761A1 | US20150119762A1 | US9662513 | WO2014054761A1
简单同族成员数量:
10
简单同族被引用专利总数:
3
诉讼案件数:
0
法律状态/事件:
授权 | 权利转移