首页
专利数据库
产业人才
行业动态
产业政策法规
维权援助
个人中心
登录/注册
详情
文本
图像
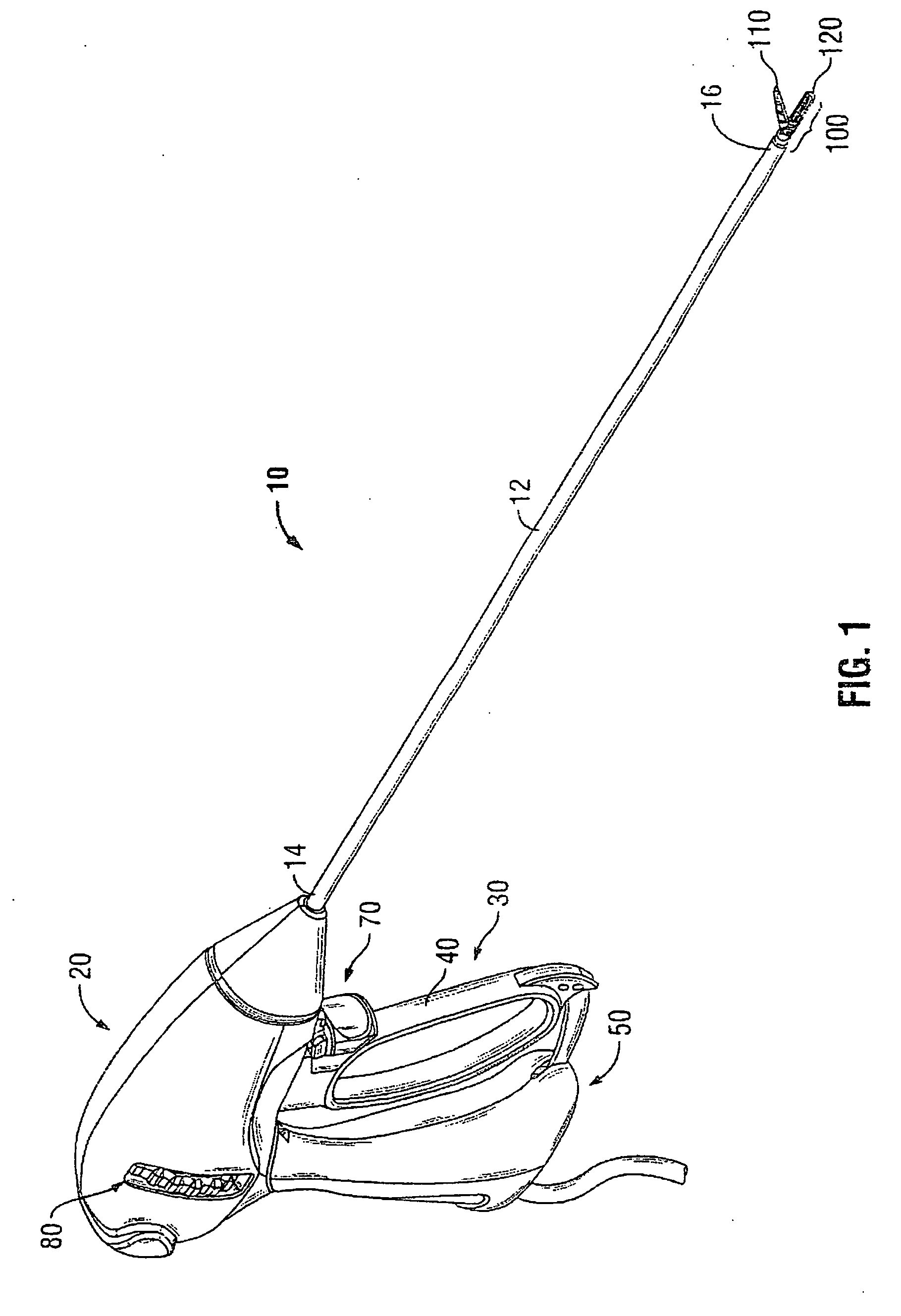
标题:
Insulated sealing plate
授权日:
2014-09-24
公开(公告)号:
EP2382938B1
申请日:
2011-04-29
公开(公告)日:
2014-09-24
当前申请(专利权)人:
COVIDIEN LP
发明人:
HORNER, GLENN A. | OLIVER, CHRISTINA A. | BRANDT, KIM V.
简单同族:
EP2382938A2 | EP2382938A3 | EP2382938B1 | US10058376 | US20110270251A1 | US20150137422A1
简单同族成员数量:
6
简单同族被引用专利总数:
93
诉讼案件数:
0
法律状态/事件:
授权 | 权利转移