首页
专利数据库
产业人才
行业动态
产业政策法规
维权援助
个人中心
登录/注册
详情
文本
图像
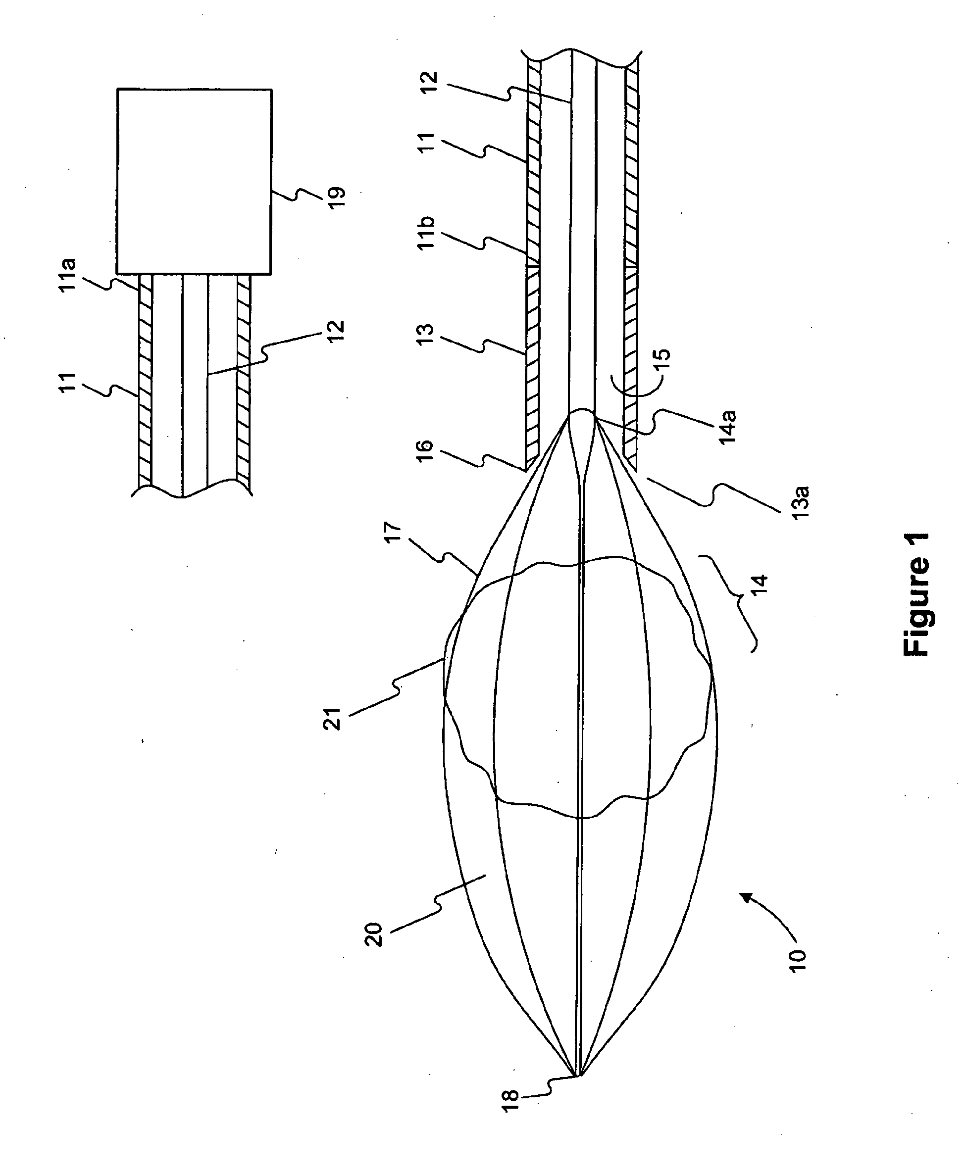
标题:
Cutting device
授权日:
2016-01-13
公开(公告)号:
EP2741691B1
申请日:
2012-08-09
公开(公告)日:
2016-01-13
当前申请(专利权)人:
BOSTON SCIENTIFIC SCIMED, INC.
发明人:
ASSELIN, WILLIAM | DOUK, NAREAK | GARDNER, TROY
简单同族:
EP2741691A1 | EP2741691B1 | US20130041359A1 | US8979832 | WO2013023042A1
简单同族成员数量:
5
简单同族被引用专利总数:
17
诉讼案件数:
0
法律状态/事件:
授权