首页
专利数据库
产业人才
行业动态
产业政策法规
维权援助
个人中心
登录/注册
详情
文本
图像
标题:
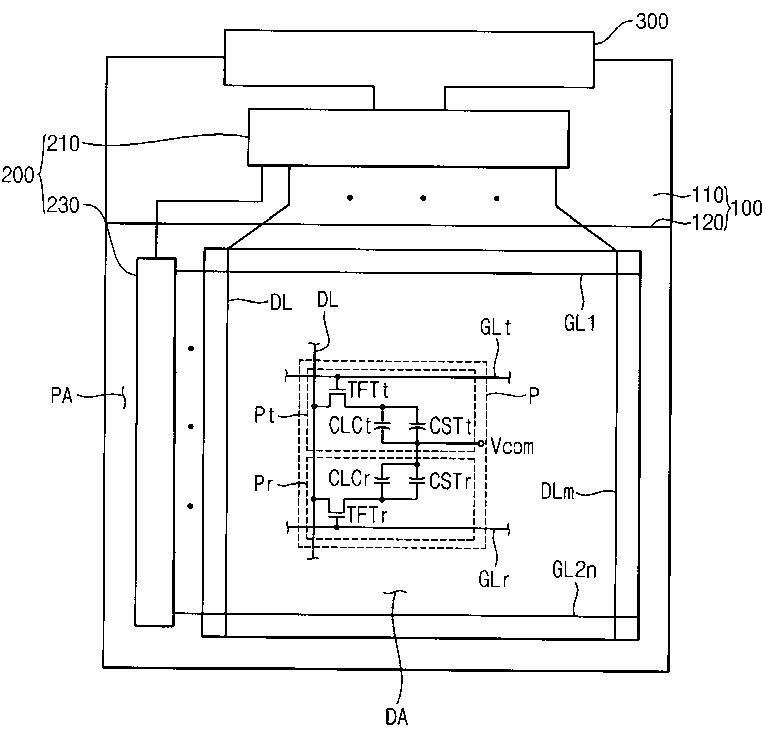
液晶表示装置ならびにその駆動装置及び駆動方法
授权日:
1900-01-01
公开(公告)号:
JP2007065647A
申请日:
2006-08-17
公开(公告)日:
2007-03-15
当前申请(专利权)人:
三星電子株式会社
发明人:
金 一 坤 | 金 雄 植 | 朴 泰 炯 | 文 國 哲 | 崔 弼 模 | 宋 錫 天 | 李 相 勳 | 朴 根 佑 | 孟 昊 ▲せき▼
简单同族:
JP2007065647A | US20070046606A1
简单同族成员数量:
2
简单同族被引用专利总数:
53
诉讼案件数:
0
法律状态/事件:
撤回