首页
专利数据库
产业人才
行业动态
产业政策法规
维权援助
个人中心
登录/注册
详情
文本
图像
标题:
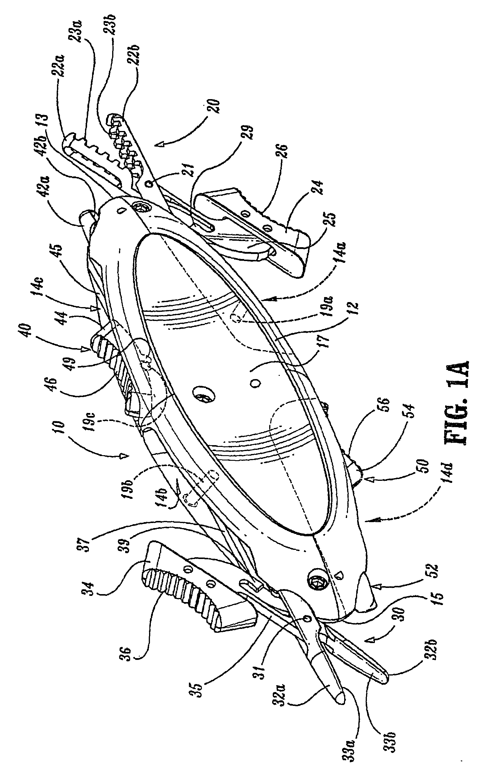
Multi-purpose surgical instrument
授权日:
2012-01-04
公开(公告)号:
EP2223658B1
申请日:
2003-09-25
公开(公告)日:
2012-01-04
当前申请(专利权)人:
TYCO HEALTHCARE GROUP LP
发明人:
BAYER, HANSPETER, ROBERT | HEINRICH, RUSSELL
简单同族:
DE60333107D1 | EP2223658A1 | EP2223658B1 | ES2346866T3 | ES2377814T3 | US20040068253A1 | US7156839
简单同族成员数量:
7
简单同族被引用专利总数:
12
诉讼案件数:
0
法律状态/事件:
授权 | 权利转移