首页
专利数据库
产业人才
行业动态
产业政策法规
维权援助
个人中心
登录/注册
详情
文本
图像
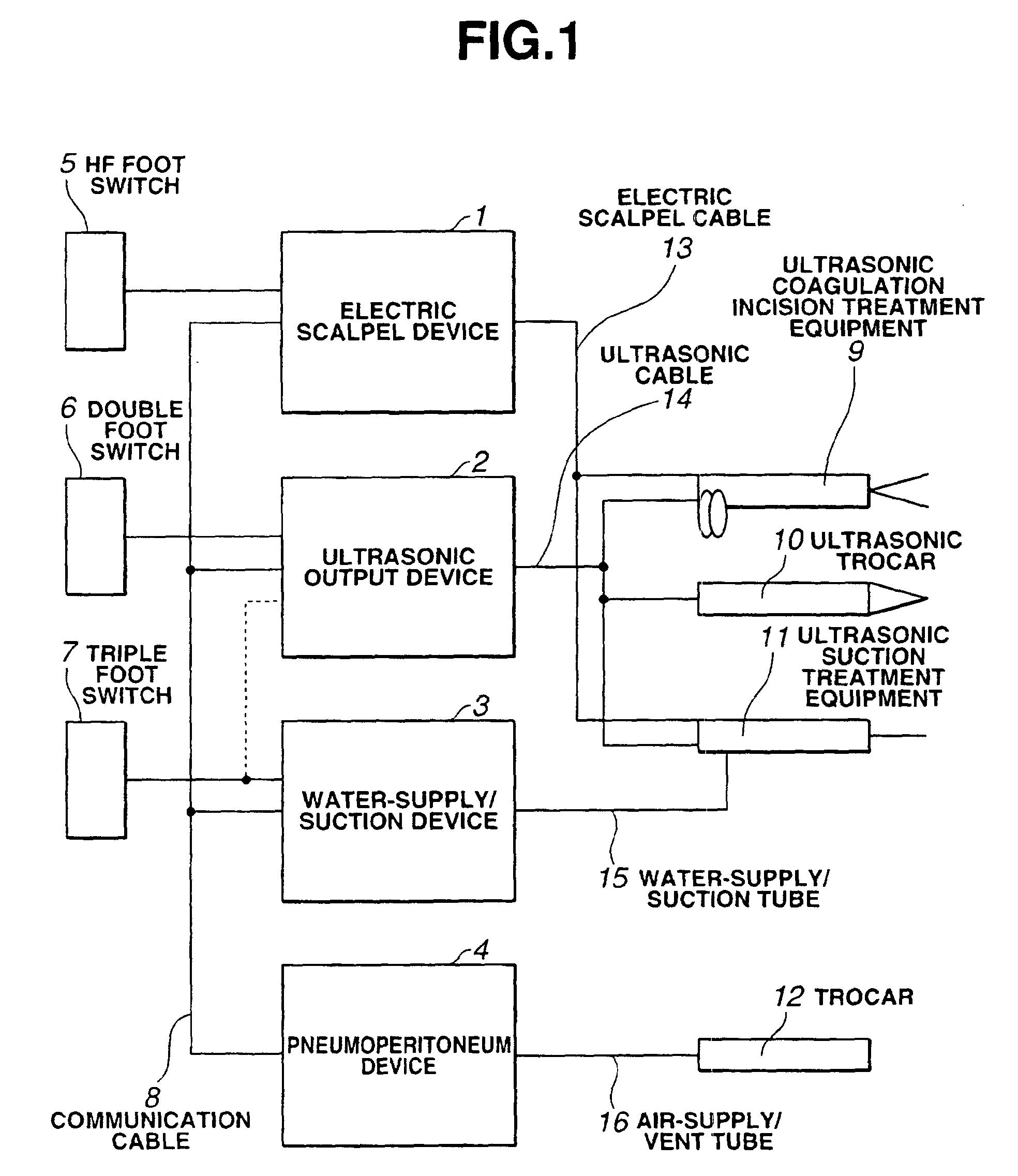
标题:
Surgery system
授权日:
2004-12-01
公开(公告)号:
EP1380264B1
申请日:
2003-07-07
公开(公告)日:
2004-12-01
当前申请(专利权)人:
OLYMPUS CORPORATION
发明人:
TAKAHASHI, HIROYUKI
简单同族:
AT283666T | DE60300181D1 | DE60300181T2 | EP1380264A1 | EP1380264B1 | JP2004089684A | JP3905482B2 | US20040010246A1
简单同族成员数量:
8
简单同族被引用专利总数:
52
诉讼案件数:
0
法律状态/事件:
授权 | 权利转移