首页
专利数据库
产业人才
行业动态
产业政策法规
维权援助
个人中心
登录/注册
详情
文本
图像
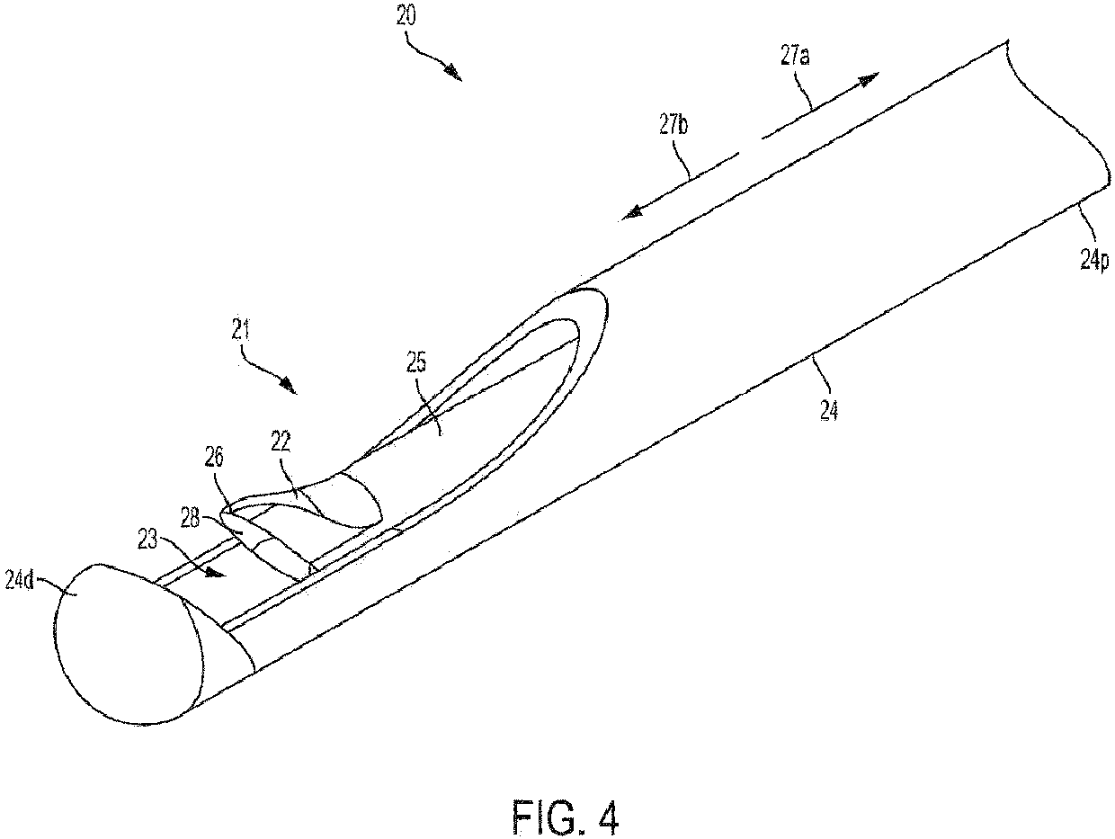
标题:
Apparatus for dissecting and coagulating tissue
授权日:
1900-01-01
公开(公告)号:
EP3590449A1
申请日:
2016-06-06
公开(公告)日:
2020-01-08
当前申请(专利权)人:
ETHICON LLC
发明人:
WEISENBURGH II, WILLIAM B. | JOHNSON, GREGORY W. | KIMBALL, CORY G.
简单同族:
CN107809975A | EP3307185A1 | EP3590449A1 | JP2018522629A | US10034684 | US20160361084A1 | WO2016204997A1
简单同族成员数量:
7
简单同族被引用专利总数:
8
诉讼案件数:
0
法律状态/事件:
公开