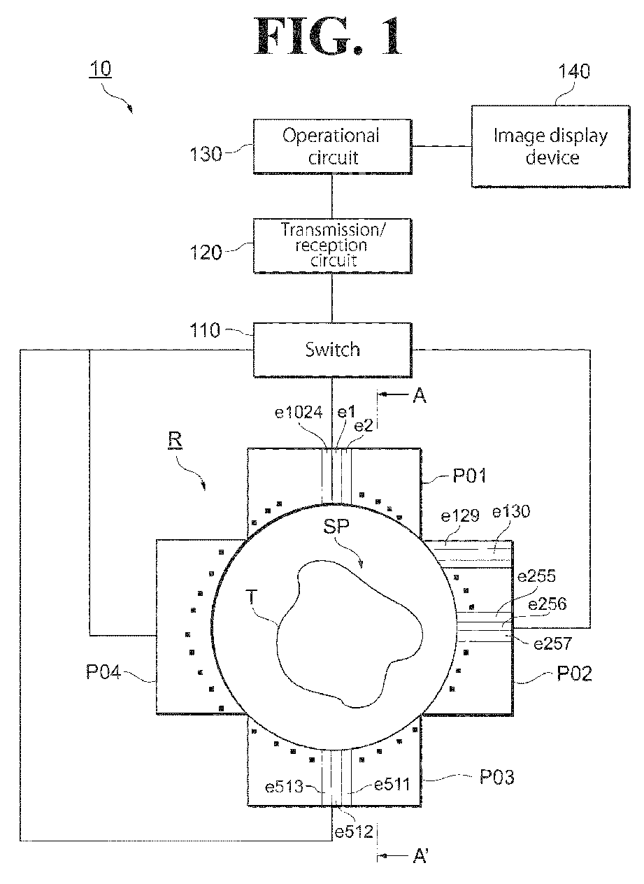
标题:
Ultrasonic diagnostic system and ultrasonic diagnostic method
授权日:
1900-01-01
公开(公告)号:
EP3354202A1
申请日:
2016-09-23
公开(公告)日:
2018-08-01
当前申请(专利权)人:
THE UNIVERSITY OF TOKYO | LILY MEDTECH INC.
发明人:
AZUMA, TAKASHI | NAKAMURA, HIROFUMI
简单同族:
CN108135573A | EP3354202A1 | EP3354202A4 | EP3354202B1 | JP6535383B2 | JPWO2017051903A1 | US20180206827A1 | WO2017051903A1
简单同族成员数量:
8
简单同族被引用专利总数:
2
诉讼案件数:
0
法律状态/事件:
授权