首页
专利数据库
产业人才
行业动态
产业政策法规
维权援助
个人中心
登录/注册
详情
文本
图像
标题:
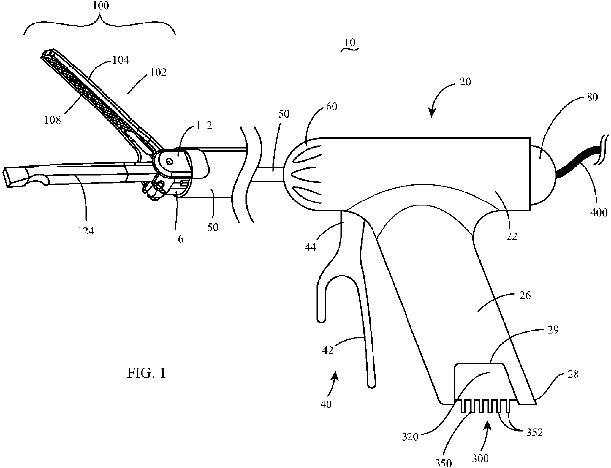
Removable fluid reservoir and ultrasonic surgical instrument including the same
授权日:
1900-01-01
公开(公告)号:
EP3524187A1
申请日:
2019-02-12
公开(公告)日:
2019-08-14
当前申请(专利权)人:
COVIDIEN LP
发明人:
COWLEY, MATTHEW, S.
简单同族:
EP3524187A1 | JP2019136510A | US20190247073A1
简单同族成员数量:
3
简单同族被引用专利总数:
0
诉讼案件数:
0
法律状态/事件:
公开