首页
专利数据库
产业人才
行业动态
产业政策法规
维权援助
个人中心
登录/注册
详情
文本
图像
标题:
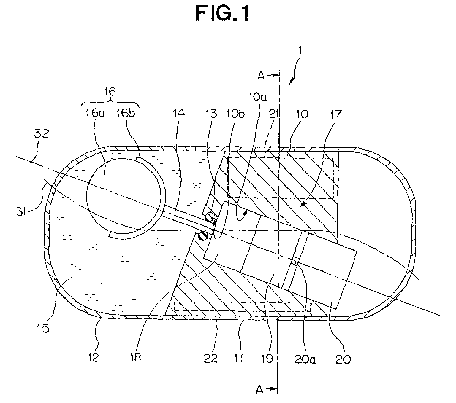
Intracoelomic mobile body, and capsule-type ultrasonic endoscope
授权日:
1900-01-01
公开(公告)号:
EP1529483A1
申请日:
2004-11-05
公开(公告)日:
2005-05-11
当前申请(专利权)人:
OLYMPUS CORPORATION
发明人:
TANIGUCHI, YUKO
简单同族:
EP1529483A1 | EP1529483B1 | JP2006129883A | JP4091036B2 | US20050119577A1 | US7452338
简单同族成员数量:
6
简单同族被引用专利总数:
31
诉讼案件数:
0
法律状态/事件:
权利终止