首页
专利数据库
产业人才
行业动态
产业政策法规
维权援助
个人中心
登录/注册
详情
文本
图像
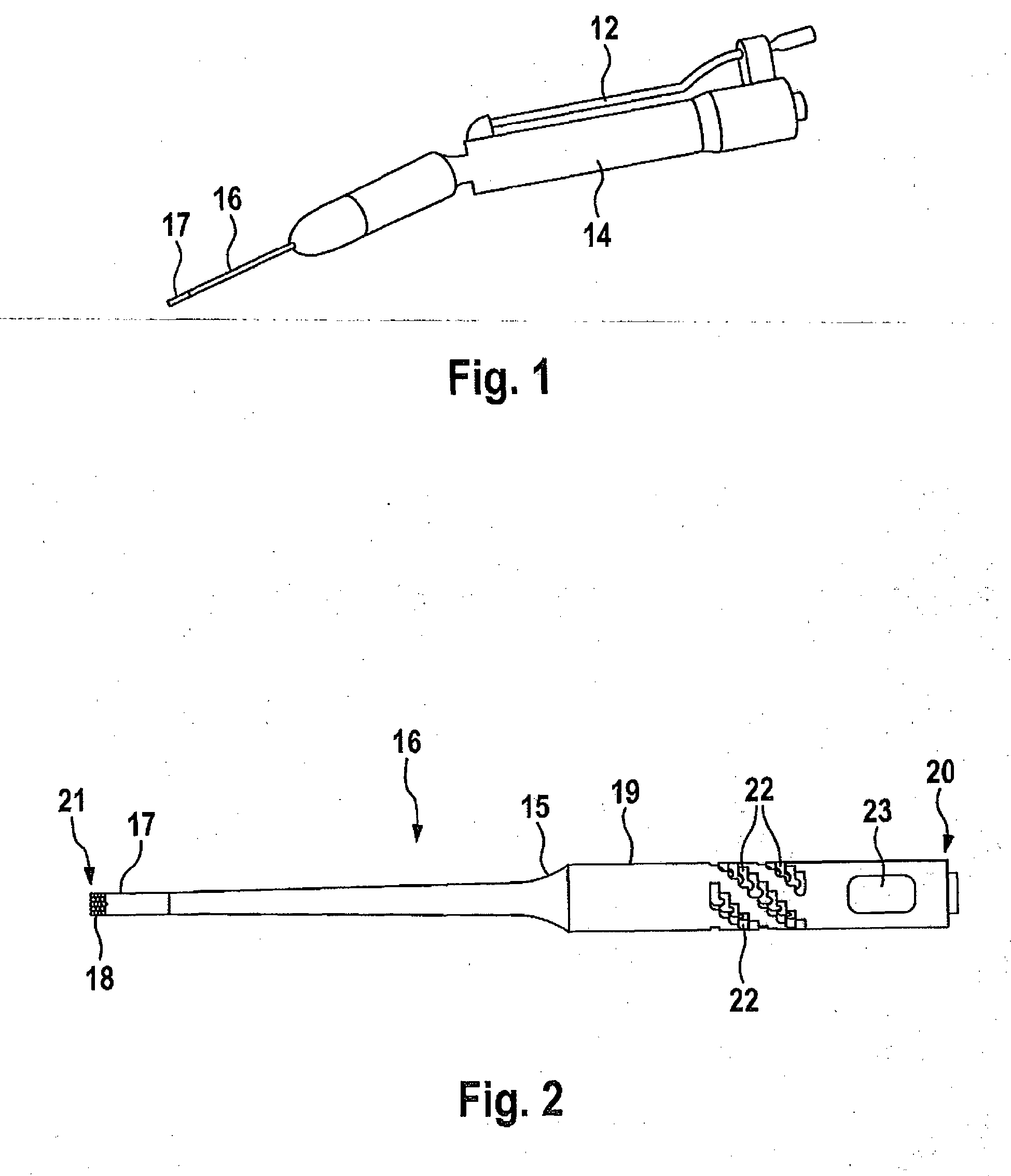
标题:
Sonotrode
授权日:
2015-07-08
公开(公告)号:
EP2760352B1
申请日:
2012-10-24
公开(公告)日:
2015-07-08
当前申请(专利权)人:
SÖRING GMBH
发明人:
RAD, ABTIN JAMSHIDI
简单同族:
CN104066391A | CN104066391B | DE102012200666A1 | DE102012200666B4 | EA025953B1 | EA201491274A1 | EP2760352A1 | EP2760352B1 | ES2547212T3 | JP2015507510A | JP6057306B2 | US20130184711A1 | US9358017 | WO2013107532A1
简单同族成员数量:
14
简单同族被引用专利总数:
18
诉讼案件数:
0
法律状态/事件:
授权