首页
专利数据库
产业人才
行业动态
产业政策法规
维权援助
个人中心
登录/注册
详情
文本
图像
标题:
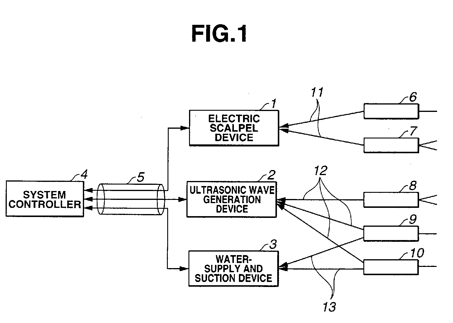
Electric surgery system
授权日:
1900-01-01
公开(公告)号:
EP1557133A1
申请日:
2003-10-22
公开(公告)日:
2005-07-27
当前申请(专利权)人:
OLYMPUS CORPORATION
发明人:
TAKAHASHI, HIROYUKI
简单同族:
EP1557133A1 | EP1557133A4 | JP4217216B2 | JPWO2004037104A1 | WO2004037104A1
简单同族成员数量:
5
简单同族被引用专利总数:
4
诉讼案件数:
0
法律状态/事件:
撤回