首页
专利数据库
产业人才
行业动态
产业政策法规
维权援助
个人中心
登录/注册
详情
文本
图像
标题:
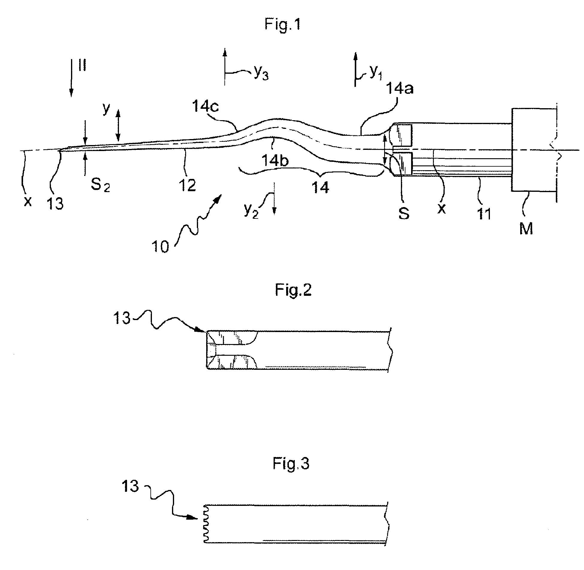
Cutting instruments for ultrasonic bone surgery
授权日:
2011-11-09
公开(公告)号:
EP2051643B1
申请日:
2007-07-27
公开(公告)日:
2011-11-09
当前申请(专利权)人:
BLUS, CORNELIO
发明人:
BLUS, CORNELIO
简单同族:
EP2051643A1 | EP2051643B1 | IT265349Y1 | ITTO2006000113U1 | US20090326535A1 | WO2008012359A1
简单同族成员数量:
6
简单同族被引用专利总数:
31
诉讼案件数:
0
法律状态/事件:
权利终止 | 权利转移