首页
专利数据库
产业人才
行业动态
产业政策法规
维权援助
个人中心
登录/注册
详情
文本
图像
标题:
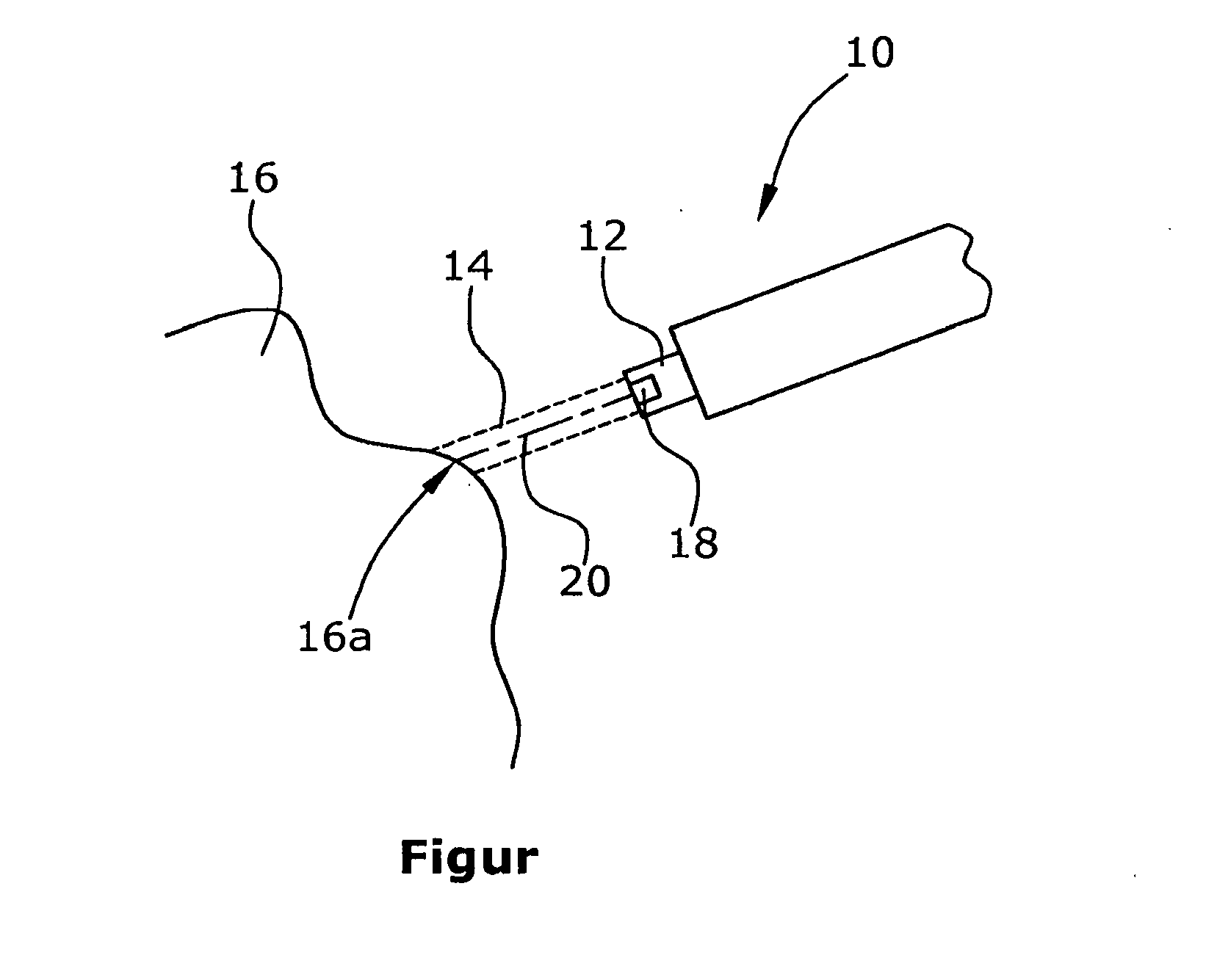
Fluid jet scalpel
授权日:
2015-10-07
公开(公告)号:
EP2601896B1
申请日:
2012-11-23
公开(公告)日:
2015-10-07
当前申请(专利权)人:
DEUTSCHES ZENTRUM FÜR LUFT- UND RAUMFAHRT E.V.
发明人:
BAHLS, THOMAS | FRÖHLICH, FLORIAN ALEXANDER
简单同族:
DE102011087748A1 | EP2601896A1 | EP2601896B1 | US20130172916A1 | US9216032
简单同族成员数量:
5
简单同族被引用专利总数:
8
诉讼案件数:
0
法律状态/事件:
授权