首页
专利数据库
产业人才
行业动态
产业政策法规
维权援助
个人中心
登录/注册
详情
文本
图像
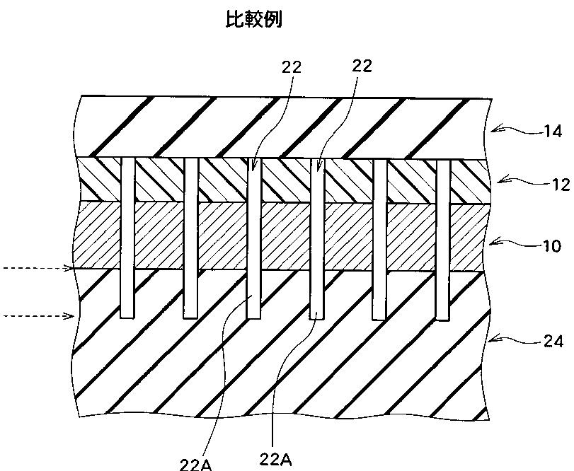
标题:
超音波探触子
授权日:
2013-09-06
公开(公告)号:
JP5358078B2
申请日:
2007-10-01
公开(公告)日:
2013-12-04
当前申请(专利权)人:
日立アロカメディカル株式会社
发明人:
佐藤 正平 | 藤井 隆司
简单同族:
JP2009082567A | JP5358078B2
简单同族成员数量:
2
简单同族被引用专利总数:
11
诉讼案件数:
0
法律状态/事件:
授权 | 权利转移