首页
专利数据库
产业人才
行业动态
产业政策法规
维权援助
个人中心
登录/注册
详情
文本
图像
标题:
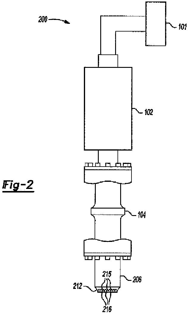
軟質材料を切断するための超音波システムおよび方法、ならびにこれらのための超音波用ブレードホーン
授权日:
1900-01-01
公开(公告)号:
JP2013523476A
申请日:
2011-04-01
公开(公告)日:
2013-06-17
当前申请(专利权)人:
ブランソン·ウルトラソニックス·コーポレーション
发明人:
サモー,アーサー
简单同族:
CN102712094A | DE112011100228T5 | JP2013523476A | US20120073414A1 | WO2011130024A1
简单同族成员数量:
5
简单同族被引用专利总数:
13
诉讼案件数:
0
法律状态/事件:
驳回