首页
专利数据库
产业人才
行业动态
产业政策法规
维权援助
个人中心
登录/注册
详情
文本
图像
标题:
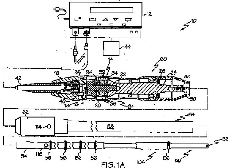
超音波外科用器具
授权日:
1900-01-01
公开(公告)号:
JP2010534523A
申请日:
2008-07-24
公开(公告)日:
2010-11-11
当前申请(专利权)人:
エシコン·エンド-サージェリィ·インコーポレイテッド
发明人:
シュテューレン·フォスター·ビー
简单同族:
AU2008282540A1 | CA2694615A1 | CN101765408A | CN101765408B | CN102512227A | CN102512227B | EP2178448A1 | EP2178448A4 | EP2178448B1 | JP2010534523A | JP5474783B2 | WO2009018075A1
简单同族成员数量:
12
简单同族被引用专利总数:
7
诉讼案件数:
0
法律状态/事件:
授权