首页
专利数据库
产业人才
行业动态
产业政策法规
维权援助
个人中心
登录/注册
详情
文本
图像
标题:
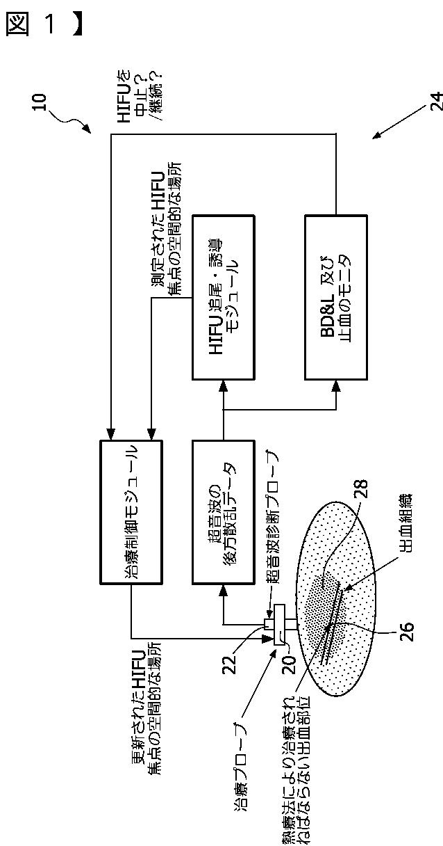
高密度集束超音波ビームを追尾し、誘導するシステム及び方法
授权日:
2016-09-16
公开(公告)号:
JP6006473B2
申请日:
2008-12-17
公开(公告)日:
2016-10-12
当前申请(专利权)人:
コーニンクレッカ フィリップス エヌ ヴェ
发明人:
アナンド アジャイ | ペトルツェッロ ジョン
简单同族:
CN101902971A | CN101902971B | EP2240081A1 | JP2011507585A | JP2011507585A5 | JP6006473B2 | US20100274130A1 | US9420988 | WO2009081339A1
简单同族成员数量:
9
简单同族被引用专利总数:
82
诉讼案件数:
0
法律状态/事件:
授权