首页
专利数据库
产业人才
行业动态
产业政策法规
维权援助
个人中心
登录/注册
详情
文本
图像
标题:
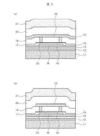
超音波送受信デバイス及びそれを用いた超音波探触子
授权日:
1900-01-01
公开(公告)号:
JP2008283618A
申请日:
2007-05-14
公开(公告)日:
2008-11-20
当前申请(专利权)人:
株式会社日立製作所
发明人:
吉村 保廣 | 永田 達也
简单同族:
EP2002900A2 | EP2002900A3 | JP2008283618A | JP2008283618A5 | JP4958631B2 | US20080284287A1 | US7944114
简单同族成员数量:
7
简单同族被引用专利总数:
16
诉讼案件数:
0
法律状态/事件:
未缴年费