首页
专利数据库
产业人才
行业动态
产业政策法规
维权援助
个人中心
登录/注册
详情
文本
图像
标题:
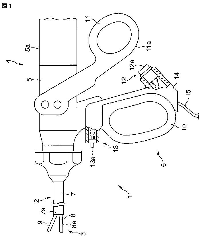
超音波処置装置
授权日:
1900-01-01
公开(公告)号:
JP2007275291A
申请日:
2006-04-06
公开(公告)日:
2007-10-25
当前申请(专利权)人:
オリンパスメディカルシステムズ株式会社
发明人:
岡部 洋 | 村上 栄治 | 市橋 博司 | 井本 克 | 押田 正美
简单同族:
CN101049259A | DE602007012954D1 | EP1842502A1 | EP1842502B1 | JP2007275291A | KR101330883B1 | KR1020070100143A | US20070239029A1
简单同族成员数量:
8
简单同族被引用专利总数:
23
诉讼案件数:
0
法律状态/事件:
驳回