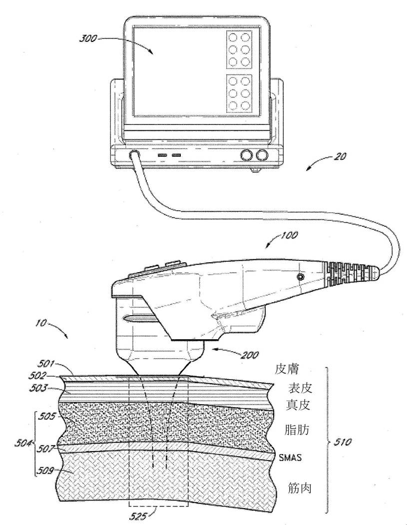
标题:
多焦点超音波治療のためのデバイス及び方法
授权日:
1900-01-01
公开(公告)号:
JP2018198937A
申请日:
2018-06-29
公开(公告)日:
2018-12-20
当前申请(专利权)人:
ウルセラ インコーポレイテッド
发明人:
エメリー チャールズ ディー.
简单同族:
AU2014226239A1 | AU2014226239B2 | AU2019203187A1 | BR112015020975A2 | CA2902063A1 | CN104027893A | CN204017181U | CN204637350U | EP2964327A1 | EP2964327A4 | HK1198016A | IL241222A | IL241222D0 | JP2016512451A | JP2016512451A5 | JP2018198937A | JP6364030B2 | JP6655130B2 | KR1020150126933A | MX2015010778A | MX2019009155A | MX367011B | PH12015501999A1 | SG10201707463UA | SG11201506925XA | TW201440721A | TW201900117A | TWI640290B | US10420960 | US20140257145A1 | US20190366127A1 | WO2014137835A1
简单同族成员数量:
32
简单同族被引用专利总数:
60
诉讼案件数:
0
法律状态/事件:
授权