首页
专利数据库
产业人才
行业动态
产业政策法规
维权援助
个人中心
登录/注册
详情
文本
图像
标题:
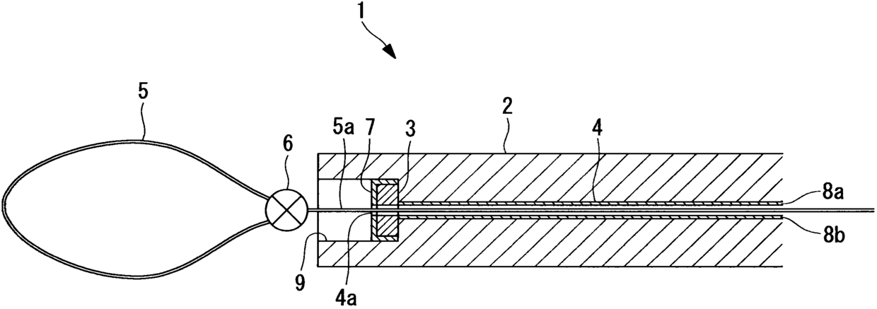
心耳结扎用处置器械
授权日:
1900-01-01
公开(公告)号:
CN106132314A
申请日:
2015-02-19
公开(公告)日:
2016-11-16
当前申请(专利权)人:
奥林巴斯株式会社
发明人:
木村雄弘 | 熊谷和敏 | 冈崎善朗 | 杉本尚也 | 日比野浩树 | 熊田嘉之 | 福田宏
简单同族:
CN106132314A | DE112015001065T5 | JP2015195838A | JP6345465B2 | US20170007259A1 | WO2015151627A1
简单同族成员数量:
6
简单同族被引用专利总数:
3
诉讼案件数:
0
法律状态/事件:
撤回