首页
专利数据库
产业人才
行业动态
产业政策法规
维权援助
个人中心
登录/注册
详情
文本
图像
标题:
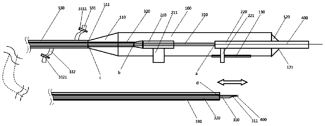
一种急诊动脉破裂转流系统
授权日:
1900-01-01
公开(公告)号:
CN110507395A
申请日:
2019-08-30
公开(公告)日:
2019-11-29
当前申请(专利权)人:
上海长征医院
发明人:
吴鉴今 | 曲乐丰 | 柏骏 | 高昊辰 | 刘炎东 | 蒋庆君 | 金杰 | 蔡家伟 | 孟子丰 | 张凇睿
简单同族:
CN110507395A
简单同族成员数量:
1
简单同族被引用专利总数:
0
诉讼案件数:
0
法律状态/事件:
实质审查