首页
专利数据库
产业人才
行业动态
产业政策法规
维权援助
个人中心
登录/注册
详情
文本
图像
标题:
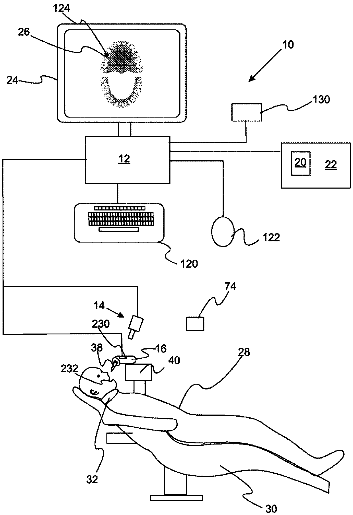
自动牙科治疗系统
授权日:
1900-01-01
公开(公告)号:
CN110520074A
申请日:
2018-02-22
公开(公告)日:
2019-11-29
当前申请(专利权)人:
网络牙科公司
发明人:
克里斯托弗·约翰·奇列洛 | 克莉丝汀·恩京·帕克 | 纳森·约翰·穆勒 | 达斯汀·理查德·德蒙蒂尼
简单同族:
CA3059462A1 | CN110520074A | EP3585296A1 | WO2018154485A1
简单同族成员数量:
4
简单同族被引用专利总数:
2
诉讼案件数:
0
法律状态/事件:
实质审查