首页
专利数据库
产业人才
行业动态
产业政策法规
维权援助
个人中心
登录/注册
详情
文本
图像
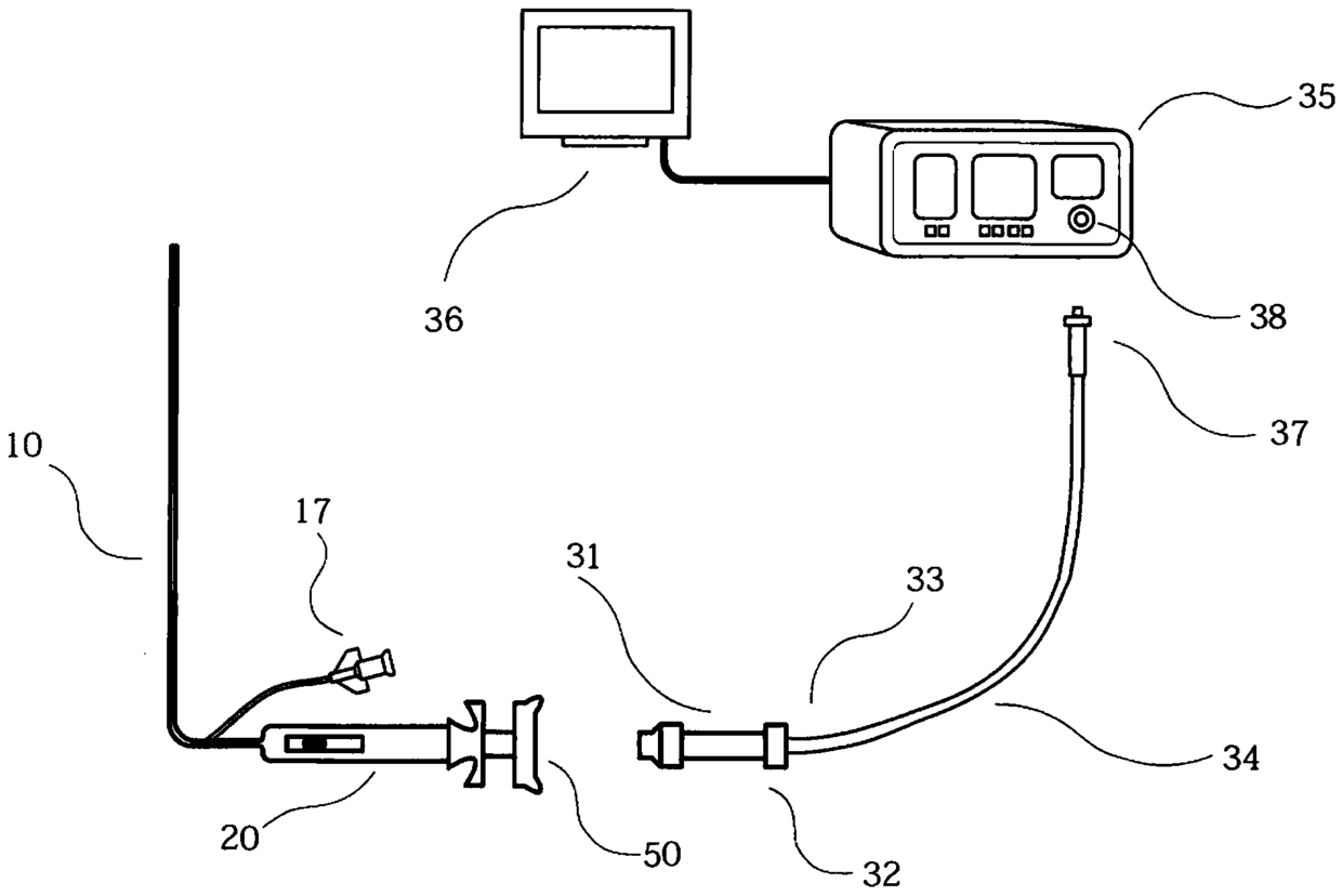
标题:
射频消融系统及其射频消融设备
授权日:
2016-05-11
公开(公告)号:
CN205215353U
申请日:
2014-02-07
公开(公告)日:
2016-05-11
当前申请(专利权)人:
上海魅丽纬叶医疗科技有限公司
发明人:
曹红光 | 董永华 | 郭久林
简单同族:
CN205215353U | EP2954865A1 | EP2954865A4 | JP2016511025A | JP2016511025A5 | JP6453769B2 | US20150374435A1 | US9993291 | WO2014121664A1
简单同族成员数量:
9
简单同族被引用专利总数:
25
诉讼案件数:
0
法律状态/事件:
授权