首页
专利数据库
产业人才
行业动态
产业政策法规
维权援助
个人中心
登录/注册
详情
文本
图像
标题:
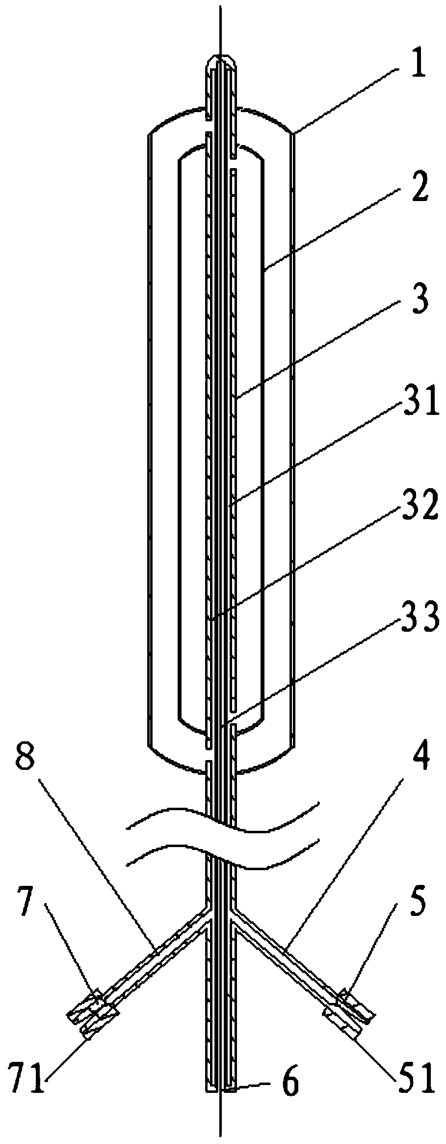
一种消化道用双层密闭式球囊管
授权日:
1900-01-01
公开(公告)号:
CN105079945A
申请日:
2015-08-31
公开(公告)日:
2015-11-25
当前申请(专利权)人:
山东师范大学
发明人:
桂维玲 | 姚建 | 姚桂翔
简单同族:
CN105079945A | CN105079945B
简单同族成员数量:
2
简单同族被引用专利总数:
3
诉讼案件数:
0
法律状态/事件:
授权