首页
专利数据库
产业人才
行业动态
产业政策法规
维权援助
个人中心
登录/注册
详情
文本
图像
标题:
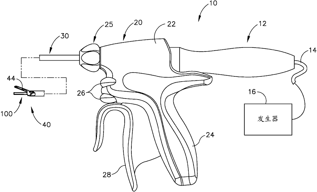
在医疗装置中使用的高温材料
授权日:
1900-01-01
公开(公告)号:
CN107205754A
申请日:
2016-01-27
公开(公告)日:
2017-09-26
当前申请(专利权)人:
伊西康有限责任公司
发明人:
J·A·阿尼姆
简单同族:
BR112017015791A2 | CN107205754A | EP3250135A1 | JP2018503462A | JP6648146B2 | US10537667 | US20160213395A1 | US20200009299A1 | WO2016123179A1
简单同族成员数量:
9
简单同族被引用专利总数:
25
诉讼案件数:
0
法律状态/事件:
实质审查