首页
专利数据库
产业人才
行业动态
产业政策法规
维权援助
个人中心
登录/注册
详情
文本
图像
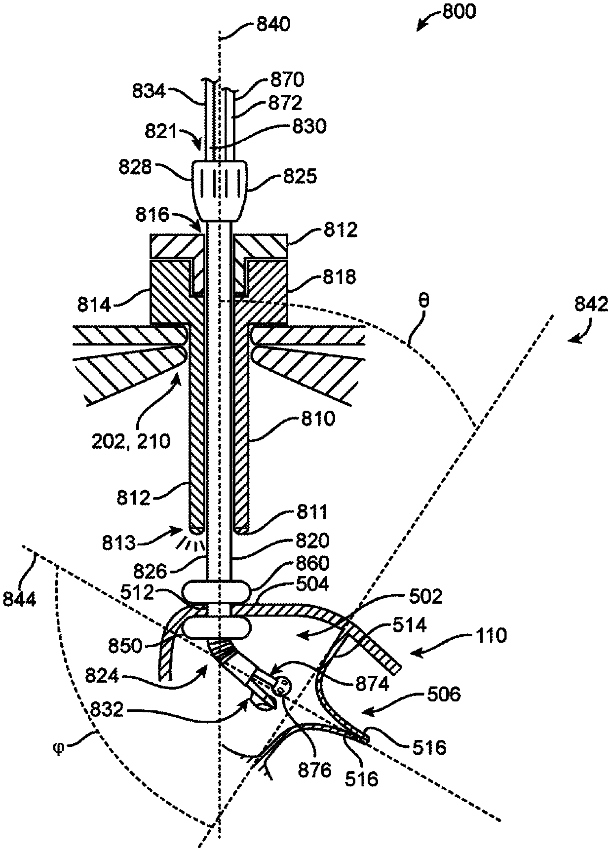
标题:
进入左心房进行心脏手术的装置和方法
授权日:
1900-01-01
公开(公告)号:
CN111107793A
申请日:
2018-07-13
公开(公告)日:
2020-05-05
当前申请(专利权)人:
米特瑞克斯公司
发明人:
穆拉利·德哈兰 | 艾伯特·K·秦 | 杰弗里·J·格兰杰
简单同族:
CN111107793A | EP3651656A1 | KR1020200042468A | WO2019014643A1
简单同族成员数量:
4
简单同族被引用专利总数:
1
诉讼案件数:
0
法律状态/事件:
实质审查