首页
专利数据库
产业人才
行业动态
产业政策法规
维权援助
个人中心
登录/注册
详情
文本
图像
标题:
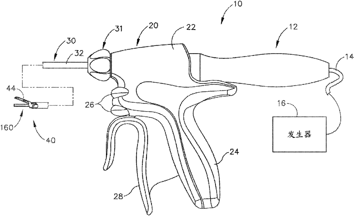
用于超声外科器械的加载特征结构
授权日:
1900-01-01
公开(公告)号:
CN106102606A
申请日:
2014-12-23
公开(公告)日:
2016-11-09
当前申请(专利权)人:
伊西康内外科有限责任公司
发明人:
S·P·康伦 | D·J·卡格尔
简单同族:
CN106102606A | CN106102606B | EP3086723A1 | JP2017500162A | JP6502363B2 | US20150182249A1 | US9700341 | WO2015100287A1
简单同族成员数量:
8
简单同族被引用专利总数:
1
诉讼案件数:
0
法律状态/事件:
授权