首页
专利数据库
产业人才
行业动态
产业政策法规
维权援助
个人中心
登录/注册
详情
文本
图像
标题:
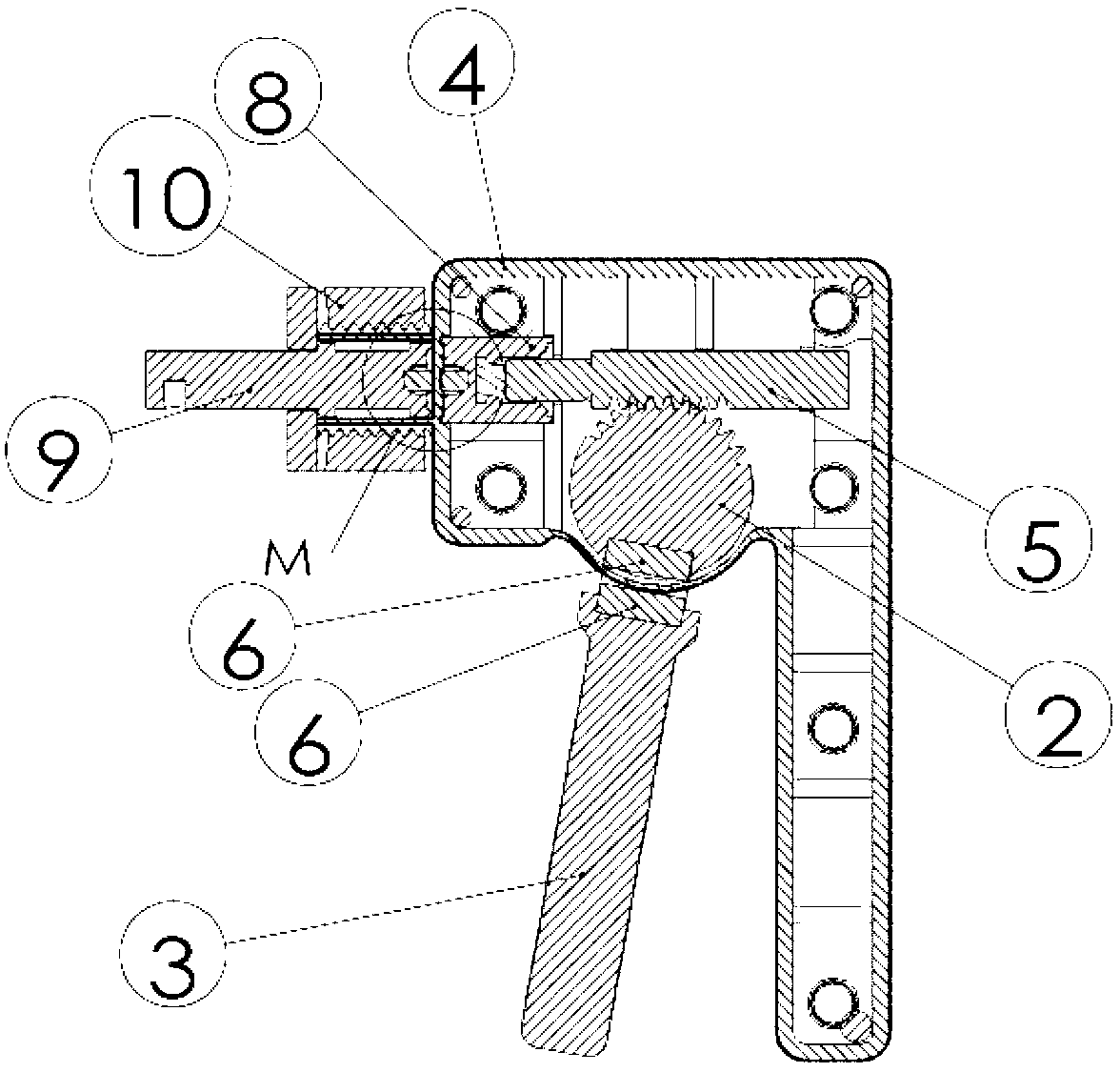
腹腔内窥镜手术刀手柄
授权日:
2014-01-22
公开(公告)号:
CN203400183U
申请日:
2013-06-13
公开(公告)日:
2014-01-22
当前申请(专利权)人:
沈靖
发明人:
沈靖
简单同族:
CN203400183U
简单同族成员数量:
1
简单同族被引用专利总数:
2
诉讼案件数:
0
法律状态/事件:
避重授权