首页
专利数据库
产业人才
行业动态
产业政策法规
维权援助
个人中心
登录/注册
详情
文本
图像
标题:
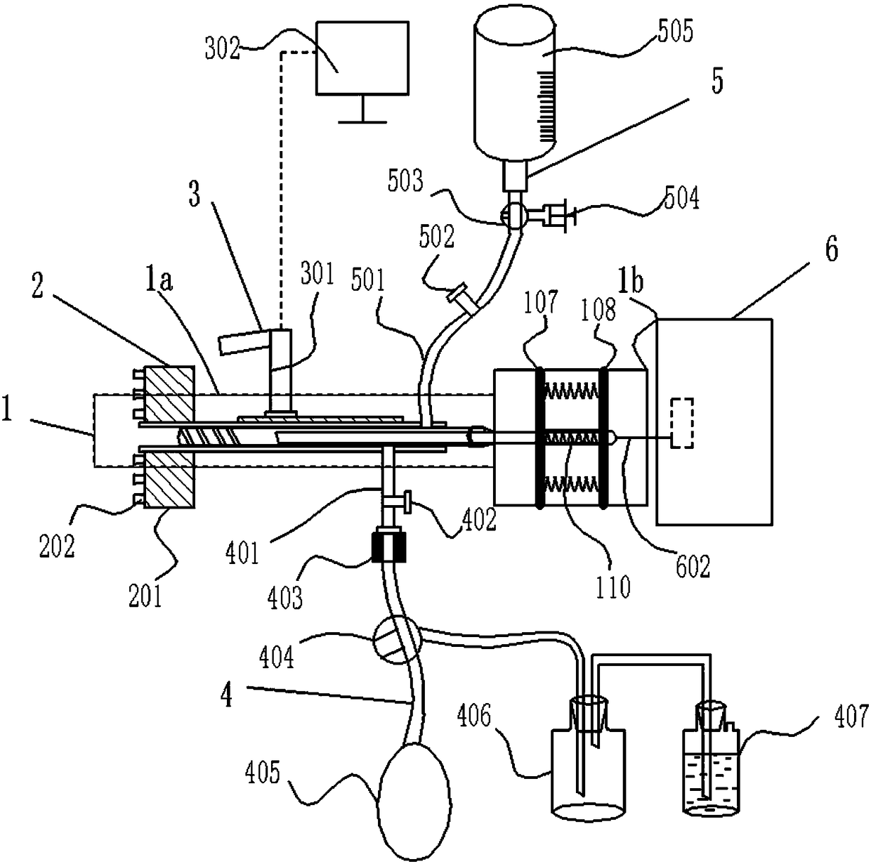
一种用于胸腔积液与排气的引流装置
授权日:
1900-01-01
公开(公告)号:
CN108066832A
申请日:
2017-12-11
公开(公告)日:
2018-05-25
当前申请(专利权)人:
王大娟
发明人:
王大娟 | 王爱萍 | 徐维亮
简单同族:
CN108066832A
简单同族成员数量:
1
简单同族被引用专利总数:
1
诉讼案件数:
0
法律状态/事件:
实质审查