首页
专利数据库
产业人才
行业动态
产业政策法规
维权援助
个人中心
登录/注册
详情
文本
图像
标题:
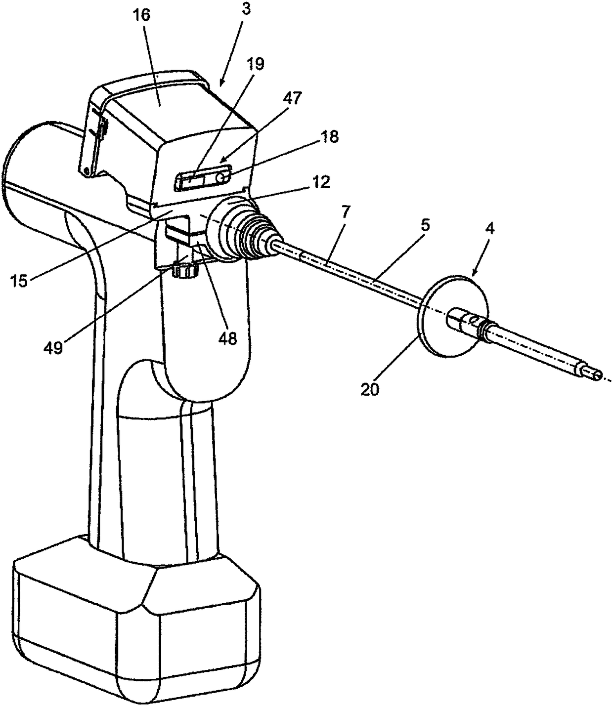
包括适合于接骨螺钉长度确定的测量单元的外科手术用动力钻
授权日:
1900-01-01
公开(公告)号:
CN108366801A
申请日:
2016-11-11
公开(公告)日:
2018-08-03
当前申请(专利权)人:
AO技术股份公司
发明人:
马库斯·温多尔夫 | 迈克尔·许茨
简单同族:
AU2016356755A1 | BR112018009605A2 | BR112018009605A8 | CA3001738A1 | CN108366801A | EP3376971A1 | JP2019503721A | US20180325528A1 | WO2017083989A1 | WO2017083992A1
简单同族成员数量:
10
简单同族被引用专利总数:
65
诉讼案件数:
0
法律状态/事件:
实质审查