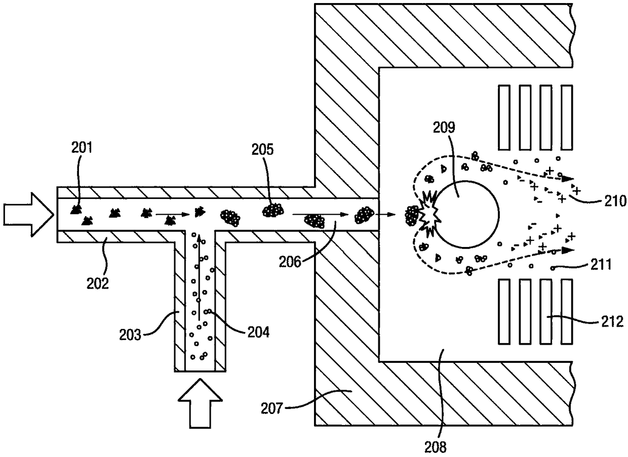
标题:
气态样品的改进电离
授权日:
1900-01-01
公开(公告)号:
CN107530064A
申请日:
2016-03-07
公开(公告)日:
2018-01-02
当前申请(专利权)人:
英国质谱公司
发明人:
埃姆里斯·琼斯 | 塔马斯·卡兰斯 | 史蒂文·德里克·普林格尔 | 茱莉亚·巴洛格 | 丹尼尔·西蒙 | 拉约什·高迪尔海兹 | 丹尼尔·绍洛伊 | 佐尔坦·塔卡茨
简单同族:
CA2978165A1 | CN107530064A | EP3266037A1 | GB201715750D0 | GB2553937A | JP2018512580A | JP2018512580A5 | KR1020170130454A | KR102017409B1 | US20180053644A1 | WO2016142683A1
简单同族成员数量:
11
简单同族被引用专利总数:
1
诉讼案件数:
0
法律状态/事件:
实质审查