首页
专利数据库
产业人才
行业动态
产业政策法规
维权援助
个人中心
登录/注册
详情
文本
图像
标题:
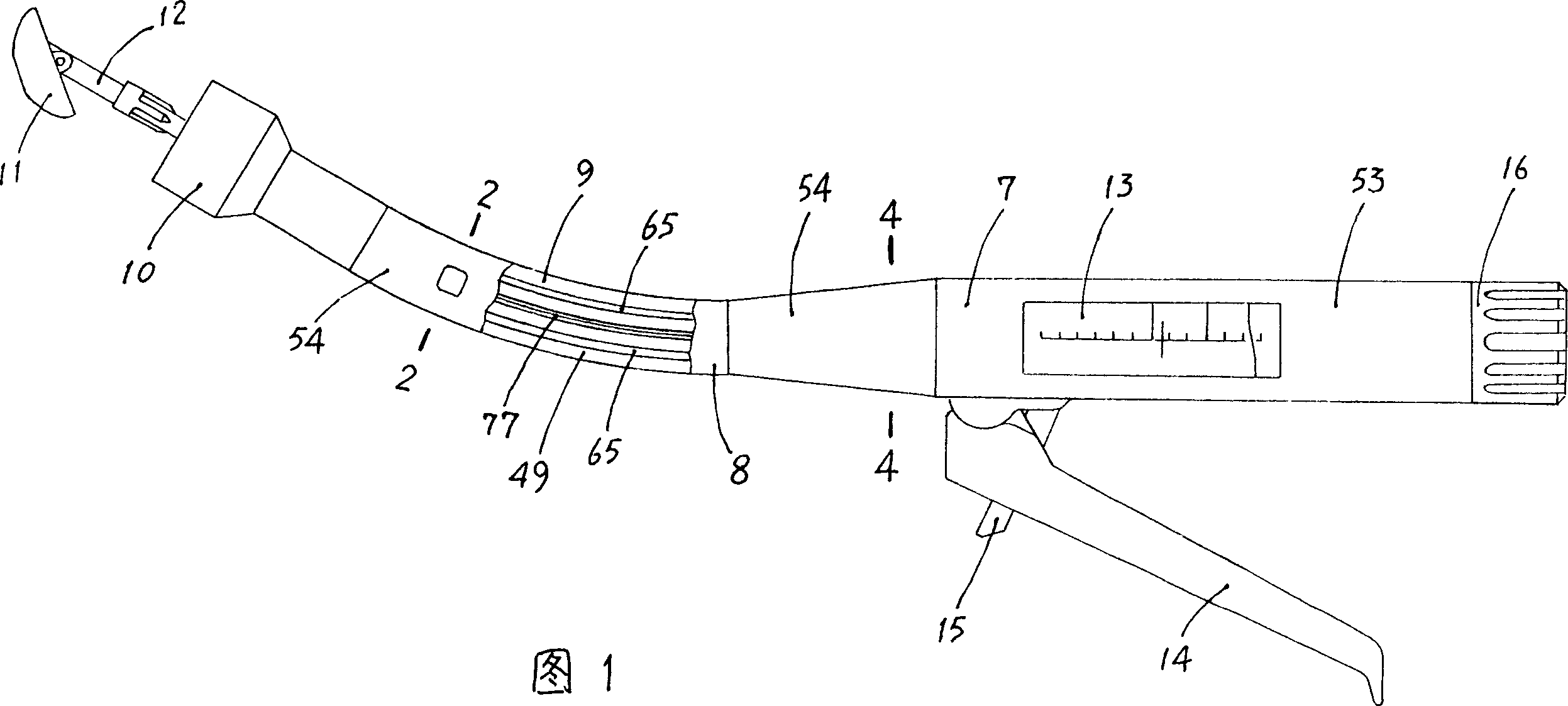
消化道管型吻合器
授权日:
1900-01-01
公开(公告)号:
CN1973782A
申请日:
2005-03-24
公开(公告)日:
2007-06-06
当前申请(专利权)人:
上海浦东金环医疗用品股份有限公司
发明人:
张祖仁
简单同族:
CN100448410C | CN1973782A
简单同族成员数量:
2
简单同族被引用专利总数:
12
诉讼案件数:
0
法律状态/事件:
授权 | 权利转移