首页
专利数据库
产业人才
行业动态
产业政策法规
维权援助
个人中心
登录/注册
详情
文本
图像
标题:
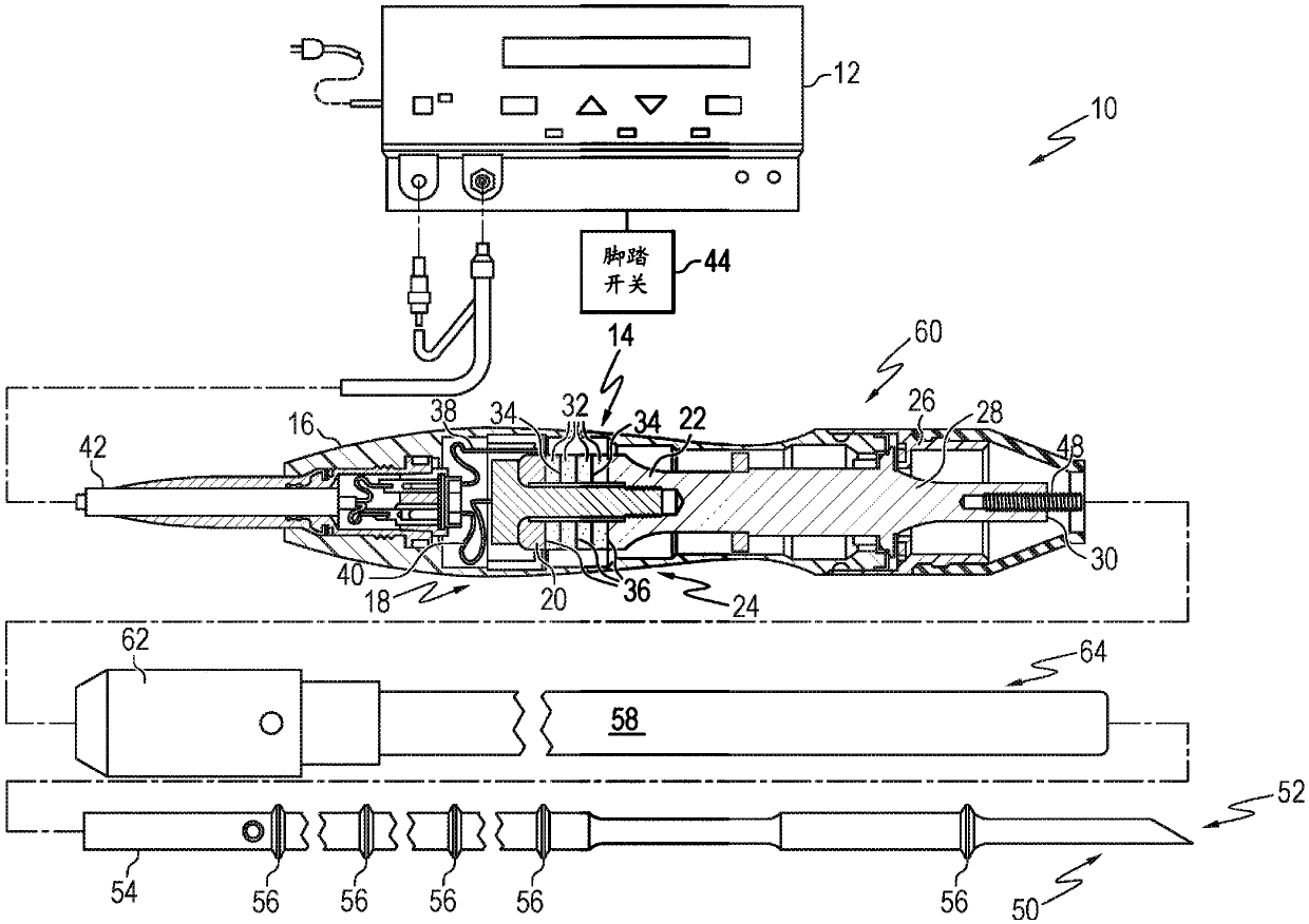
外科器械的组织加载
授权日:
1900-01-01
公开(公告)号:
CN109640846A
申请日:
2017-08-24
公开(公告)日:
2019-04-16
当前申请(专利权)人:
伊西康有限责任公司
发明人:
J·D·梅瑟利 | W·E·克莱姆 | J·A·威德三世 | E·斯图特 | C·T·戴维斯 | J·布莱迪 | J·D·丹尼斯 | P·H·克劳达 | M·L·泽克科尔
简单同族:
BR112019003694A2 | CN109640846A | EP3503822A1 | JP2019524370A | US20180078268A1 | WO2018039412A1
简单同族成员数量:
6
简单同族被引用专利总数:
76
诉讼案件数:
0
法律状态/事件:
实质审查