首页
专利数据库
产业人才
行业动态
产业政策法规
维权援助
个人中心
登录/注册
详情
文本
图像
标题:
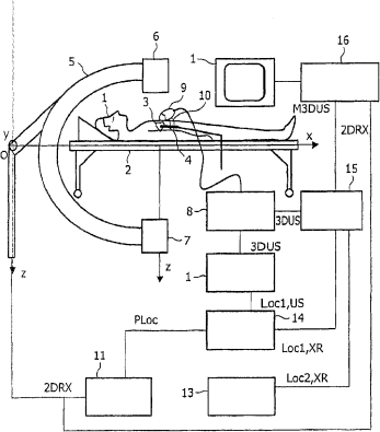
用于在患者体内引导医疗器械的系统
授权日:
2010-02-24
公开(公告)号:
CN100591282C
申请日:
2005-02-24
公开(公告)日:
2010-02-24
当前申请(专利权)人:
皇家飞利浦电子股份有限公司
发明人:
O·格拉尔 | R·弗洛伦特
简单同族:
CN100591282C | CN1925793A | EP1727471A1 | JP2007526066A | US20080234570A1 | WO2005092198A1
简单同族成员数量:
6
简单同族被引用专利总数:
45
诉讼案件数:
0
法律状态/事件:
未缴年费