首页
专利数据库
产业人才
行业动态
产业政策法规
维权援助
个人中心
登录/注册
详情
文本
图像
标题:
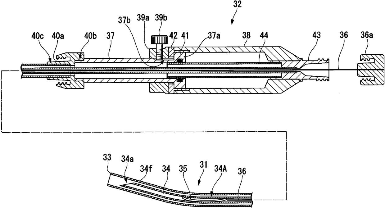
超声波用穿刺针
授权日:
1900-01-01
公开(公告)号:
CN105813574A
申请日:
2014-12-10
公开(公告)日:
2016-07-27
当前申请(专利权)人:
奥林巴斯株式会社
发明人:
佐藤雅俊
简单同族:
CN105813574A | CN105813574B | EP3081168A1 | EP3081168A4 | EP3081168B1 | JP2016154876A | JP6180575B2 | JPWO2015087910A1 | US20160278809A1 | WO2015087910A1
简单同族成员数量:
10
简单同族被引用专利总数:
2
诉讼案件数:
0
法律状态/事件:
授权