首页
专利数据库
产业人才
行业动态
产业政策法规
维权援助
个人中心
登录/注册
详情
文本
图像
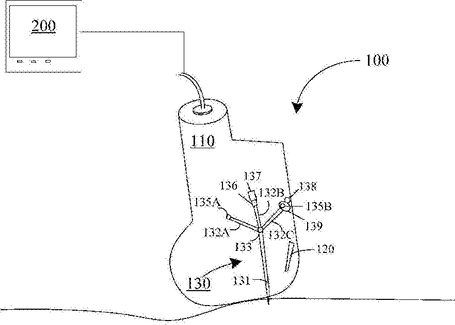
标题:
超声介入穿刺装置及穿刺组件
授权日:
2017-02-01
公开(公告)号:
CN205913380U
申请日:
2016-06-22
公开(公告)日:
2017-02-01
当前申请(专利权)人:
冯庆宇
发明人:
冯庆宇
简单同族:
CN205913380U
简单同族成员数量:
1
简单同族被引用专利总数:
4
诉讼案件数:
0
法律状态/事件:
避重授权