首页
专利数据库
产业人才
行业动态
产业政策法规
维权援助
个人中心
登录/注册
详情
文本
图像
标题:
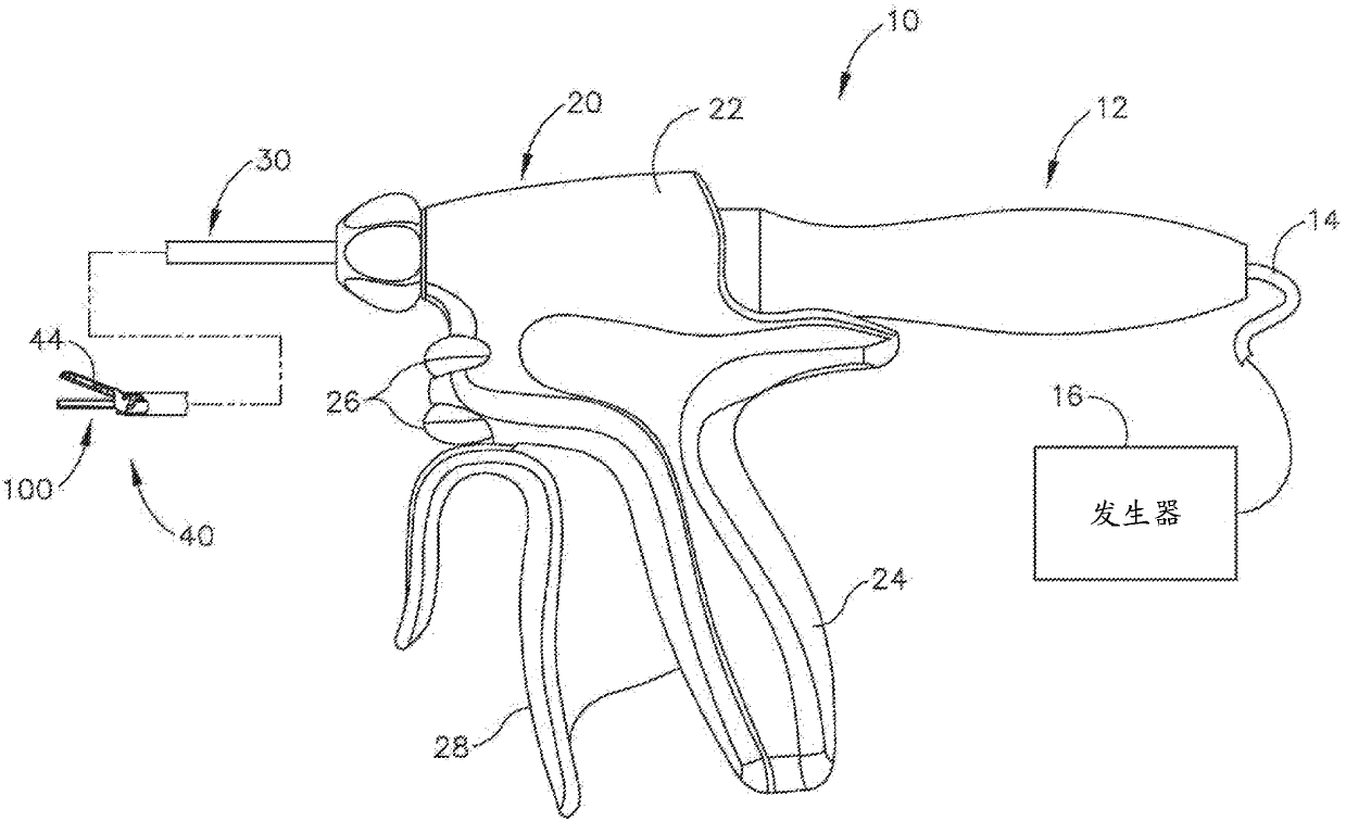
用于超声外科器械的联接结构
授权日:
2019-06-21
公开(公告)号:
CN105939679B
申请日:
2014-12-23
公开(公告)日:
2019-06-21
当前申请(专利权)人:
伊西康内外科有限责任公司
发明人:
S·P·康伦 | D·J·卡格尔 | D·A·门罗 | J·A·希布纳 | C·康斯坦丁奥 | S·索科罕沃尔 | M·布鲁威尔 | D·耶赛维克 | M·拉梅阿尼费尔德 | J·沃利施
简单同族:
CN105939679A | CN105939679B | EP3086722A1 | JP2017500157A | JP6495297B2 | US20150182250A1 | US9539020 | WO2015100285A1
简单同族成员数量:
8
简单同族被引用专利总数:
39
诉讼案件数:
0
法律状态/事件:
授权