标题:
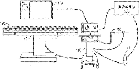
用于超声图像引导的消融天线放置的系统和方法
授权日:
1900-01-01
公开(公告)号:
CN106691580A
申请日:
2016-11-17
公开(公告)日:
2017-05-24
当前申请(专利权)人:
柯惠有限合伙公司
发明人:
D·G·吉罗托 | K·J·弗兰克
简单同族:
AU2016256744A1 | AU2016256744B2 | AU2018202024A1 | AU2018202024B2 | CA2948280A1 | CN106691580A | CN106691580B | CN111248998A | EP3170456A1 | JP2017094084A | JP2018198947A | JP6379158B2 | JP6659777B2 | US10548666 | US20170135760A1 | US20200138516A1
简单同族成员数量:
16
简单同族被引用专利总数:
3
诉讼案件数:
0
法律状态/事件:
授权